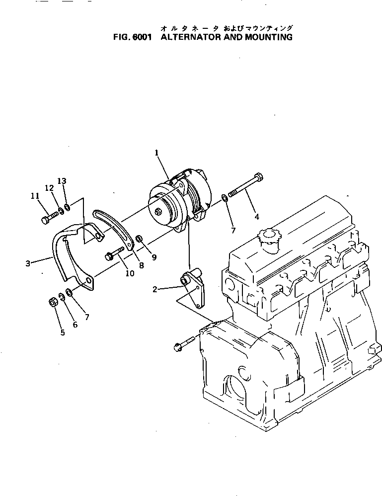
Запчасти Komatsu 4D95L-1C ГЕНЕРАТОР И КРЕПЛЕНИЕ ЭЛЕКТРИКА

Схема запчастей Komatsu 4D95L-1C - ГЕНЕРАТОР И КРЕПЛЕНИЕ ЭЛЕКТРИКА
FIT
1:1
100%

Артикул

Название

Примечание

Количество

1

600-821-5441

ALTERNATOR A. (25A)

SN: 10001-UP

1шт.

2

6204-81-6520

BRACKET

SN: 10001-UP

1шт.

3

6204-81-6910

COVER

SN: 10001-UP

1шт.

4

6112-21-6580

BOLT

SN: 10001-UP

1шт.

5

01580-01411

NUT

SN: 10001-UP

1шт.

6

01602-01442

WASHER

SN: 10001-UP

1шт.

7

01641-21423

WASHER

SN: 10001-UP

2шт.

8

6206-81-6620

PLATE,ADJUST

SN: 10001-UP

1шт.

9

6141-81-4270

SPACER

SN: 10001-UP

1шт.

10

01435-20850

BOLT

SN: 10001-UP

1шт.

11

01050-31230

BOLT

SN: 10001-UP

1шт.

12

01602-01236

WASHER

SN: 10001-UP

1шт.

13

01643-31232

WASHER

SN: 10001-UP

1шт.

Выбрано товаров: 13