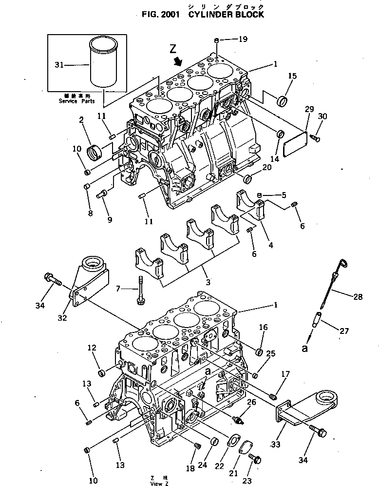
Запчасти Komatsu 4D95L-1C БЛОК ЦИЛИНДРОВ БЛОК ЦИЛИНДРОВ

Схема запчастей Komatsu 4D95L-1C - БЛОК ЦИЛИНДРОВ БЛОК ЦИЛИНДРОВ
FIT
1:1
100%

Артикул

Название

Примечание

Количество

|1

6204-21-1101

CYLINDER BLOCK ASS'Y

SN: 10001-UP

1шт.

1

0

BLOCK,CYLINDER

SN: 10001-UP

1шт.

2

6204-21-1410

BUSHING

SN: 10001-UP

1шт.

3

0

CAP,MAIN METAL¤ NO.1¤2¤3¤4

SN: 10001-UP

4шт.

4

0

CAP,MAIN METAL¤ NO.5

SN: 10001-UP

1шт.

5

6141-21-1530

RING

SN: 10001-UP

2шт.

6

04025-00408

PIN

SN: 10001-UP

6шт.

7

6204-21-1610

BOLT

SN: 10001-UP

10шт.

8

6204-51-1710

BUSHING,OIL PUMP

SN: 10001-UP

1шт.

9

6204-51-1620

SHAFT,OIL PUMP

SN: 10001-UP

1шт.

10

07046-21810

PLUG

SN: 10001-UP

4шт.

11

04020-00820

PIN,DOWEL

SN: 10001-UP

2шт.

12

07046-42010

PLUG

SN: 10001-UP

1шт.

13

04020-01228

PIN,DOWEL

SN: 10001-UP

2шт.

14

07046-43016

PLUG

SN: 10001-UP

6шт.

15

07043-50108

PLUG

SN: 10001-UP

6шт.

16

6140-21-1130

BUSHING

SN: 10001-UP

2шт.

17

07046-42516

PLUG

SN: 10001-UP

4шт.

18

07046-44016

PLUG

SN: 10001-UP

1шт.

19

07042-10312

PLUG

SN: 10001-UP

1шт.

20

07046-23016

PLUG

SN: 10001-UP

1шт.

21

6204-21-6710

PLATE

SN: 10001-UP

1шт.

22

6132-11-4820

GASKET (K2)

SN: 10001-UP

1шт.

23

01435-20814

BOLT

SN: 10001-UP

2шт.

24

07046-42216

PLUG

SN: 10001-UP

1шт.

25

07046-41410

PLUG

SN: 10001-UP

1шт.

26

08073-00505

SWITCH

SN: 10001-UP

1шт.

27

6204-21-5410

GUIDE,OIL GAUGE

SN: 10001-UP

1шт.

28

6204-21-5310

GAUGE,OIL

SN: 10001-UP

1шт.

29

09605-01411

PLATE¤ NAME,(LIMITED SUPPLY)

SN: 10001-UP

1шт.

30

04418-02550

SCREW

SN: 10001-UP

4шт.

31

6207-21-2110

LINER (MARK A),CYLINDER

SN: 10001-UP

-2шт.

31

6207-21-2120

LINER (MARK B),CYLINDER

SN: 10001-UP

-2шт.

32

201-01-41130

BRACKET,L.H.

SN: 10001-UP

1шт.

33

201-01-41140

BRACKET,R.H.

SN: 10001-UP

1шт.

34

01435-01025

BOLT

SN: 10001-UP

8шт.

Выбрано товаров: 36