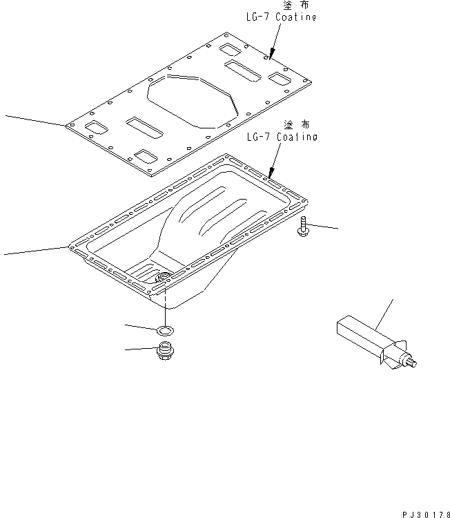
Запчасти Komatsu 4D95L-1CC МАСЛЯНЫЙ ПОДДОН (ШУМОПОДАВЛ. СПЕЦ-Я)(№9-) БЛОК ЦИЛИНДРОВ

Схема запчастей Komatsu 4D95L-1CC - МАСЛЯНЫЙ ПОДДОН (ШУМОПОДАВЛ. СПЕЦ-Я)(№9-) БЛОК ЦИЛИНДРОВ
1
2
3
4
5
6
FIT
1:1
100%

Артикул

Название

Примечание

Количество

1

6204-21-5112

PAN,OIL

SN: 75660-UP

1шт.

|1

0

PAN,OIL

SN: 55962-75659

1шт.

2

6204-21-5150

PLATE,UNDER

SN: 55962-UP

1шт.

3

6204-21-5180

PLUG,DRAIN

SN: 55962-UP

1шт.

4

07005-02216

GASKET (K2)

SN: 55962-UP

1шт.

5

01435-00816

BOLT

SN: 55962-UP

24шт.

6

09920-00150

LIQUID GASKET,LG-7¤ 150G

SN: 55962-UP

-2шт.

Выбрано товаров: 7