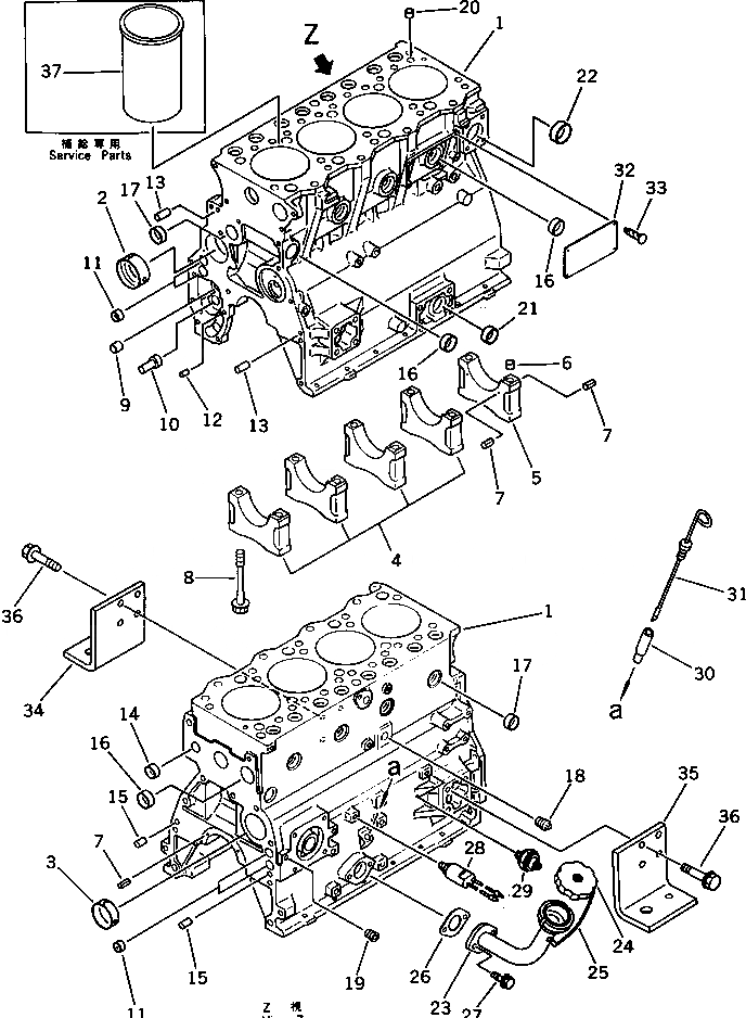
Запчасти Komatsu 4D95L-1H БЛОК ЦИЛИНДРОВ(№8897-) БЛОК ЦИЛИНДРОВ

Схема запчастей Komatsu 4D95L-1H - БЛОК ЦИЛИНДРОВ(№8897-) БЛОК ЦИЛИНДРОВ
FIT
1:1
100%

Артикул

Название

Примечание

Количество

|1

6204-21-1102

CYLINDER BLOCK ASS'Y

SN: 50618-UP

1шт.

|1

0

CYLINDER BLOCK ASS'Y

SN: 18897-50617

1шт.

|$$3

(6204-21-1102{6204-51-1201)}

-1шт.

1

0

BLOCK,CYLINDER

SN: 34511-UP

1шт.

|1

0

BLOCK,CYLINDER

SN: 18897-34510

1шт.

2

6204-21-1410

BUSHING,CAMSHAFT

SN: 18897-UP

1шт.

3

6206-21-1420

BUSHING,CAMSHAFT

SN: 34511-UP

2шт.

4

0

CAP,MAIN METAL¤ NO.1¤2¤3¤4

SN: 18897-UP

4шт.

5

0

CAP,MAIN METAL¤ NO.5

SN: 18897-UP

1шт.

6

6141-21-1530

RING,DOWEL

SN: 18897-UP

2шт.

7

04025-00408

PIN,SPRING

SN: 18897-UP

6шт.

8

6204-21-1610

BOLT,MAIN CAP

SN: 18897-UP

10шт.

9

6204-51-1711

BUSHING,OIL PUMP

SN: 47472-UP

1шт.

|9

0

BUSHING,OIL PUMP

SN: 18897-47471

1шт.

10

6204-51-1620

SHAFT,OIL PUMP

SN: 18897-UP

1шт.

11

07046-41810

PLUG

SN: 33079-UP

4шт.

|11

0

PLUG

SN: 18897-33078

4шт.

12

6136-52-1620

PIN,DOWEL

SN: 50618-UP

1шт.

13

04020-00820

PIN,DOWEL

SN: 18897-UP

2шт.

14

07046-42216

PLUG

SN: 18897-UP

1шт.

15

04020-01228

PIN,DOWEL

SN: 18897-UP

2шт.

16

07046-43016

PLUG

SN: 68095-UP

7шт.

|16

07046-43016

PLUG

SN: 18897-68094

6шт.

17

07046-42516

PLUG

SN: 60122-UP

5шт.

|17

07046-42516

PLUG

SN: 18897-60121

4шт.

18

07042-10312

PLUG

SN: 18897-UP

1шт.

19

07043-50108

PLUG

SN: 18897-UP

6шт.

20

6140-21-1130

BUSHING,DOWEL

SN: 18897-UP

2шт.

21

07046-23016

PLUG

SN: 18897-UP

1шт.

22

07046-44016

PLUG

SN: 18897-UP

1шт.

|23

6144-21-7100

OIL FILLER ASS'Y

SN: 18897-UP

1шт.

23

6144-21-7121

FILLER

SN: 18897-UP

1шт.

24

6136-21-7120

CAP ASS'Y

SN: 18897-UP

1шт.

25

6136-21-7190

CHAIN

SN: 18897-UP

1шт.

26

6132-11-4820

GASKET (K2)

SN: 18897-UP

1шт.

27

01435-20820

BOLT

SN: 18897-UP

2шт.

28

600-815-1120

SWITCH,OIL PRESSURE

SN: 18897-UP

1шт.

29

08073-00510

SWITCH

SN: 18897-UP

1шт.

30

6204-21-5410

GUIDE,OIL GAUGE

SN: 18897-UP

1шт.

31

6204-21-5310

GAUGE,OIL

SN: 18897-UP

1шт.

32

09605-01411

PLATE¤ NAME,(ENGLISH) (LIMITED SUPPLY)

SN: 18897-UP

1шт.

33

04418-02550

SCREW

SN: 18897-UP

4шт.

34

6202-21-3721

SUPPORT,L.H.

SN: 21514-UP

1шт.

|34

6202-21-3720

SUPPORT,L.H.

SN: 18897-21513

1шт.

35

6202-21-3711

SUPPORT,R.H.

SN: 21514-UP

1шт.

|35

6202-21-3710

SUPPORT,R.H.

SN: 18897-21513

1шт.

36

01435-01025

BOLT

SN: 18897-UP

8шт.

37

6207-21-2110

LINER (MARK A),CYLINDER

SN: 18897-UP

-2шт.

|37

6207-21-2120

LINER (MARK B),CYLINDER

SN: 18897-UP

-2шт.

Выбрано товаров: 49