Запчасти Komatsu 4D95L-1J ТОПЛИВН. ФИЛЬТР. И КРЕПЛЕНИЕ(№8897-) ТОПЛИВН. СИСТЕМА

Схема запчастей Komatsu 4D95L-1J - ТОПЛИВН. ФИЛЬТР. И КРЕПЛЕНИЕ(№8897-) ТОПЛИВН. СИСТЕМА
FIT
1:1
100%

Артикул

Название

Примечание

Количество

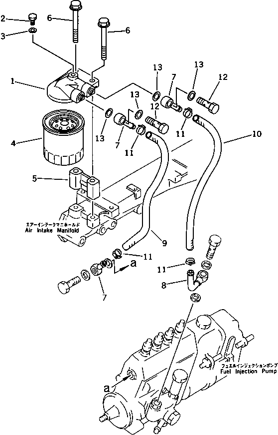
|1

600-311-9600

FUEL FILTER ASS'Y

SN: 18897-UP

1шт.

1

600-311-9640

HEAD

SN: 18897-UP

1шт.

2

600-311-6720

PLUG

SN: 18897-UP

1шт.

3

07005-00812

GASKET (K2)

SN: 18897-UP

1шт.

4

600-311-6220

CARTRIDGE

SN: 18897-UP

1шт.

5

6206-71-6530

SPACER

SN: 18897-UP

1шт.

6

01435-21065

BOLT

SN: 18897-UP

2шт.

7

6144-71-5750

JOINT

SN: 18897-UP

3шт.

8

6206-71-5850

JOINT

SN: 18897-UP

1шт.

9

07260-20920

HOSE

SN: 18897-UP

1шт.

10

07260-20928

HOSE

SN: 18897-UP

1шт.

11

07281-00197

CLAMP

SN: 18897-UP

4шт.

12

07206-31014

BOLT,JOINT

SN: 18897-UP

2шт.

13

07005-01412

GASKET (K2)

SN: 18897-UP

4шт.

Выбрано товаров: 14