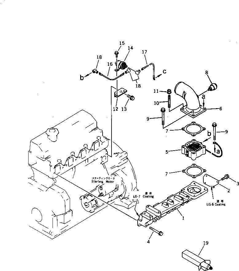
Запчасти Komatsu 4D95L-1Z ТРУБОПРОВОД ВПУСКА ВОЗДУХА И СОЕДИН-Е ГОЛОВКА ЦИЛИНДРОВ

Схема запчастей Komatsu 4D95L-1Z - ТРУБОПРОВОД ВПУСКА ВОЗДУХА И СОЕДИН-Е ГОЛОВКА ЦИЛИНДРОВ
FIT
1:1
100%

Артикул

Название

Примечание

Количество

|$0

6204-11-4120

INTAKE MANIFOLD A.

SN: 41633-UP

1шт.

1

6204-11-4130

MANIFOLD

SN: 41633-UP

1шт.

2

6204-11-4140

PLATE

SN: 41633-UP

1шт.

3

01435-00812

BOLT

SN: 41633-UP

4шт.

4

01435-21075

BOLT

SN: 41633-UP

8шт.

5

600-815-2341

HEATER,RIBBON

SN: 41633-UP

1шт.

6

6204-12-4230

CONNECTOR,AIR

SN: 41633-UP

1шт.

7

6136-11-4820

GASKET (K1)

SN: 41633-UP

2шт.

8

08670-02001

INDICATOR,DUST

SN: 82928-UP

1шт.

8

0

INDICATOR,DUST

SN: 41633-82927

1шт.

9

01435-21065

BOLT

SN: 41633-UP

3шт.

10

01144-31065

STUD

SN: 41633-UP

1шт.

11

01584-01008

NUT

SN: 41633-UP

1шт.

12

6206-81-5510

BRACKET

SN: 41633-UP

1шт.

13

01435-21020

BOLT

SN: 41633-UP

2шт.

14

600-815-2170

SWITCH

SN: 41633-UP

1шт.

15

01435-20612

BOLT

SN: 41633-UP

2шт.

16

6151-81-4470

WIRE, 200MM

SN: 41633-UP

1шт.

17

6136-85-4320

WIRE, 270MM

SN: 41633-UP

1шт.

18

08038-00519

CAP

SN: 41633-UP

3шт.

19

09920-00150

LIQUID GASKET,LG-7, 150G

SN: 41633-UP

-2шт.

Выбрано товаров: 21