Запчасти Komatsu 4D95L-1Z - -

Схема запчастей Komatsu 4D95L-1Z - - -
FIT
1:1
100%

Артикул

Название

Примечание

Количество

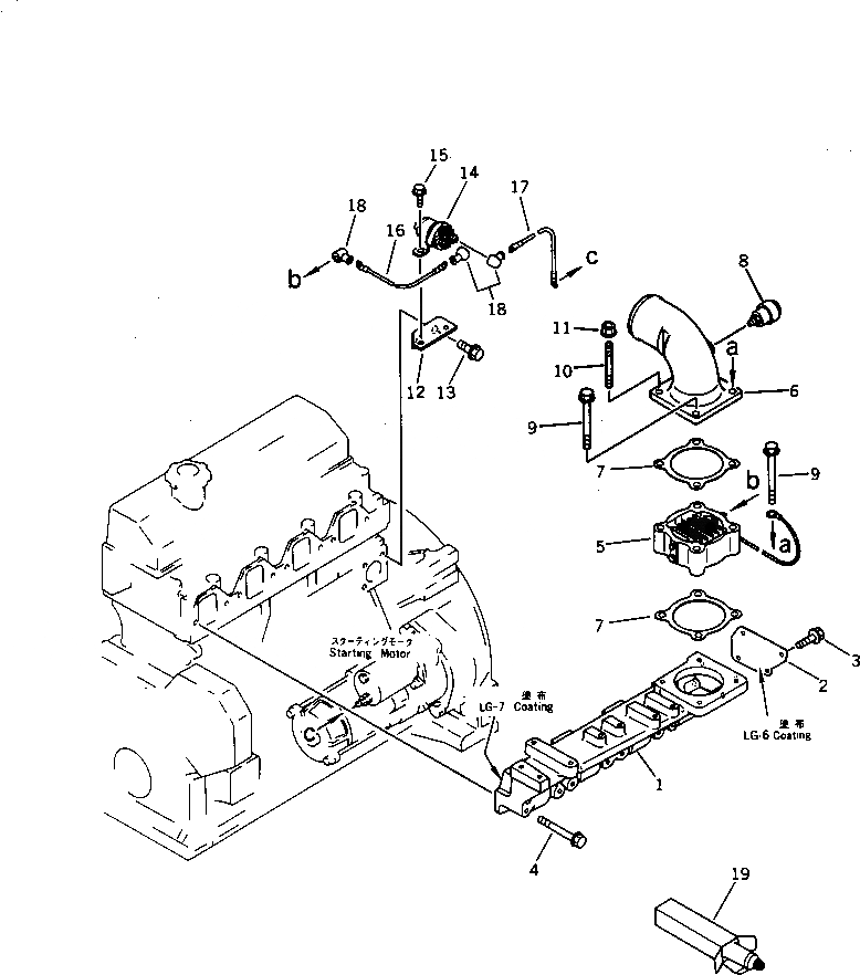
|1

6204-11-4120

SN: 41633-UP

1шт.

1

6204-11-4130

SN: 41633-UP

1шт.

2

6204-11-4140

SN: 41633-UP

1шт.

3

01435-00812

SN: 41633-UP

4шт.

4

01435-21075

SN: 41633-UP

8шт.

5

600-815-2341

SN: 41633-UP

1шт.

6

6204-12-4230

SN: 41633-UP

1шт.

7

6136-11-4820

SN: 41633-UP

2шт.

8

08670-02001

SN: 82928-UP

1шт.

|8

0

SN: 41633-82927

1шт.

9

01435-21065

SN: 41633-UP

3шт.

10

01144-31065

SN: 41633-UP

1шт.

11

01584-01008

SN: 41633-UP

1шт.

12

6206-81-5510

SN: 41633-UP

1шт.

13

01435-21020

SN: 41633-UP

2шт.

14

600-815-2170

SN: 41633-UP

1шт.

15

01435-20612

SN: 41633-UP

2шт.

16

6151-81-4470

SN: 41633-UP

1шт.

17

6136-85-4320

SN: 41633-UP

1шт.

18

08038-00519

SN: 41633-UP

3шт.

19

09920-00150

SN: 41633-UP

-2шт.

Выбрано товаров: 21