Запчасти Komatsu 4D95L-W-1A - -

Схема запчастей Komatsu 4D95L-W-1A - - -
FIT
1:1
100%

Артикул

Название

Примечание

Количество

|1

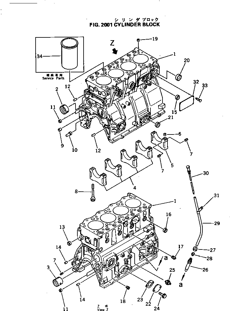
6204-21-1102

CYLINDER BLOCK

SN: 33661-UP

1шт.

|1

0

CYLINDER BLOCK

SN: 10001-33660

1шт.

1

0

SN: 33661-UP

1шт.

|1

0

SN: 10001-33660

1шт.

2

6204-21-1410

BUSHING

SN: 10001-UP

1шт.

3

6204-21-1420

BUSHING

SN: 33661-UP

2шт.

4

0

CAP

SN: 10001-UP

4шт.

|4

6204-21-1210

CAP

SN: 10001-UP

4шт.

5

0

CAP

SN: 10001-UP

1шт.

|5

6204-21-1220

CAP

SN: 10001-UP

1шт.

6

6141-21-1530

RING

SN: 10001-UP

2шт.

7

04025-00408

ROLL PIN

SN: 16125-UP

4шт.

|7

04025-00408

ROLL PIN

SN: 10001-16124

6шт.

8

6204-21-1610

BOLT

SN: 10001-UP

10шт.

9

6204-51-1710

BUSHING

SN: 10001-UP

1шт.

10

6204-51-1620

SHAFT

SN: 10001-UP

1шт.

11

07046-41810

PLUG

SN: 10001-UP

4шт.

12

04020-00820

DOWEL PIN

SN: 10001-UP

2шт.

13

07046-42216

PLUG

SN: 14429-UP

1шт.

|13

07046-42010

PLUG

SN: 10001-14428

1шт.

14

04020-01228

DOWEL PIN

SN: 10001-UP

2шт.

15

07046-43016

PLUG

SN: 10001-UP

6шт.

16

07046-42516

PLUG

SN: 10001-UP

4шт.

17

07042-10312

PLUG

SN: 10001-UP

1шт.

18

07043-50108

PLUG

SN: 10001-UP

5шт.

19

6140-21-1130

BUSHING

SN: 10001-UP

2шт.

20

07046-44016

PLUG

SN: 10001-UP

1шт.

21

07046-23016

PLUG

SN: 10001-UP

1шт.

22

6204-21-6710

PLATE

SN: 10001-UP

1шт.

23

6132-11-4820

GASKET

SN: 10001-UP

1шт.

24

01435-20814

BOLT

SN: 10001-UP

2шт.

26

6204-21-5510

GUIDE

SN: 10001-UP

1шт.

27

6150-21-5930

NUT

SN: 10001-UP

1шт.

28

6150-21-5920

COLLAR

SN: 10001-UP

1шт.

29

6204-21-5421

GUIDE

SN: 10001-UP

1шт.

30

6204-21-5321

GAUGE

SN: 10001-UP

1шт.

31

6206-21-5520

CLIP

SN: 10025-UP

1шт.

|31

6144-21-5650

CLAMP

SN: 10001-10024

1шт.

25

08073-00505

SWITCH

SN: 10001-UP

1шт.

32

6204-81-2210

NAME PLATE

SN: 29977-UP

1шт.

|32

0

PLATE

SN: 10001-29976

1шт.

33

04418-02550

SCREW

SN: 10001-29976

4шт.

34

6207-21-2110

CYLINDER LINER

SN: 10001-UP

-2шт.

|34

6207-21-2120

CYLINDER LINER

SN: 10001-UP

-2шт.

|1

6204-21-1102

CYLINDER BLOCK

SN: 33661-UP

1шт.

|1

0

CYLINDER BLOCK

SN: 10001-33660

1шт.

1

0

SN: 33661-UP

1шт.

|1

0

SN: 10001-33660

1шт.

2

6204-21-1410

BUSHING

SN: 10001-UP

1шт.

3

6204-21-1420

BUSHING

SN: 33661-UP

2шт.

4

0

CAP

SN: 10001-UP

4шт.

|4

6204-21-1210

CAP

SN: 10001-UP

4шт.

5

0

CAP

SN: 10001-UP

1шт.

|5

6204-21-1220

CAP

SN: 10001-UP

1шт.

6

6141-21-1530

RING

SN: 10001-UP

2шт.

7

04025-00408

ROLL PIN

SN: 16125-UP

4шт.

|7

04025-00408

ROLL PIN

SN: 10001-16124

6шт.

8

6204-21-1610

BOLT

SN: 10001-UP

10шт.

9

6204-51-1710

BUSHING

SN: 10001-UP

1шт.

10

6204-51-1620

SHAFT

SN: 10001-UP

1шт.

11

07046-41810

PLUG

SN: 10001-UP

4шт.

12

04020-00820

DOWEL PIN

SN: 10001-UP

2шт.

13

07046-42216

PLUG

SN: 14429-UP

1шт.

|13

07046-42010

PLUG

SN: 10001-14428

1шт.

14

04020-01228

DOWEL PIN

SN: 10001-UP

2шт.

15

07046-43016

PLUG

SN: 10001-UP

6шт.

16

07046-42516

PLUG

SN: 10001-UP

4шт.

17

07042-10312

PLUG

SN: 10001-UP

1шт.

18

07043-50108

PLUG

SN: 10001-UP

5шт.

19

6140-21-1130

BUSHING

SN: 10001-UP

2шт.

20

07046-44016

PLUG

SN: 10001-UP

1шт.

21

07046-23016

PLUG

SN: 10001-UP

1шт.

22

6204-21-6710

PLATE

SN: 10001-UP

1шт.

23

6132-11-4820

GASKET

SN: 10001-UP

1шт.

24

01435-20814

BOLT

SN: 10001-UP

2шт.

26

6204-21-5510

GUIDE

SN: 10001-UP

1шт.

27

6150-21-5930

NUT

SN: 10001-UP

1шт.

28

6150-21-5920

COLLAR

SN: 10001-UP

1шт.

29

6204-21-5421

GUIDE

SN: 10001-UP

1шт.

30

6204-21-5321

GAUGE

SN: 10001-UP

1шт.

31

6206-21-5520

CLIP

SN: 10025-UP

1шт.

|31

6144-21-5650

CLAMP

SN: 10001-10024

1шт.

25

08073-00505

SWITCH

SN: 10001-UP

1шт.

32

6204-81-2210

NAME PLATE

SN: 29977-UP

1шт.

|32

0

PLATE

SN: 10001-29976

1шт.

33

04418-02550

SCREW

SN: 10001-29976

4шт.

34

6207-21-2110

CYLINDER LINER

SN: 10001-UP

-2шт.

|34

6207-21-2120

CYLINDER LINER

SN: 10001-UP

-2шт.

Выбрано товаров: 88