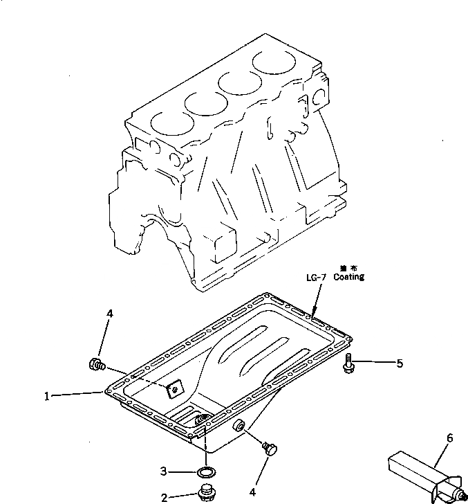
Запчасти Komatsu 4D95L-W-1D-B МАСЛЯНЫЙ ПОДДОН(№9778-) БЛОК ЦИЛИНДРОВ

Схема запчастей Komatsu 4D95L-W-1D-B - МАСЛЯНЫЙ ПОДДОН(№9778-) БЛОК ЦИЛИНДРОВ
FIT
1:1
100%

Артикул

Название

Примечание

Количество

1

6204-21-5111

PAN,OIL

SN: 22235-@

1шт.

|1

0

PAN,OIL

SN: 19778-22234

1шт.

2

6204-21-5180

PLUG,DRAIN

SN: 19778-@

1шт.

3

6204-21-5290

GASKET (K2)

SN: 19778-@

1шт.

4

287-35-11470

PLUG

SN: 19778-22234

2шт.

5

01435-20814

BOLT

SN: 19778-@

24шт.

6

09920-00150

LIQUID GASKET,LG-7¤ 150G

SN: 19778-@

-2шт.

Выбрано товаров: 7