Запчасти Komatsu 4D95L-W-1D ВПУСК ВОЗДУХА MANIOLD И СОЕДИН-Е(№779-) ГОЛОВКА ЦИЛИНДРОВ

Схема запчастей Komatsu 4D95L-W-1D - ВПУСК ВОЗДУХА MANIOLD И СОЕДИН-Е(№779-) ГОЛОВКА ЦИЛИНДРОВ
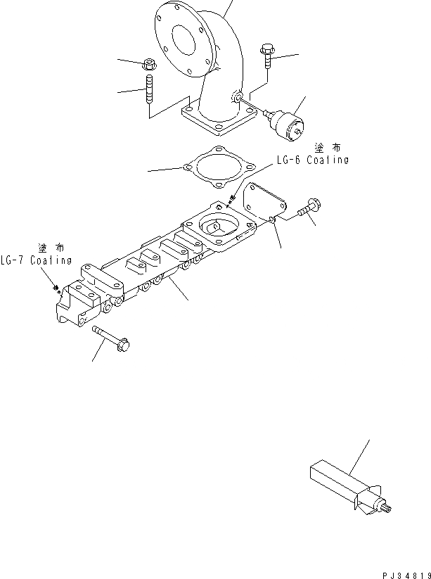
1
2
3
4
5
6
7
8
9
10
11
FIT
1:1
100%

Артикул

Название

Примечание

Количество

1

6204-11-4130

MANIFOLD,INTAKE

SN: 27795-UP

1шт.

2

6204-11-4140

PLATE

SN: 27795-UP

1шт.

3

01435-00812

BOLT

SN: 27795-UP

4шт.

4

01435-21075

BOLT

SN: 19778-UP

8шт.

5

6204-12-4210

CONNECTOR,AIR

SN: 19778-UP

1шт.

6

08670-00635

INDICATOR,DUST

SN: 19778-UP

1шт.

7

6136-11-4820

GASKET (K1)

SN: 19778-UP

1шт.

8

01435-21025

BOLT

SN: 19778-UP

3шт.

9

01144-31025

STUD

SN: 19778-UP

1шт.

10

01584-01008

NUT

SN: 19778-UP

1шт.

11

09920-00150

LIQUID GASKET,LG-7, 150G

SN: 19778-UP

-2шт.

Выбрано товаров: 0