Запчасти Komatsu 4D95L-W-1E БЛОК ЦИЛИНДРОВ (МОРОЗОУСТОЙЧИВ. СПЕЦИФИКАЦИЯ.) БЛОК ЦИЛИНДРОВ

Схема запчастей Komatsu 4D95L-W-1E - БЛОК ЦИЛИНДРОВ (МОРОЗОУСТОЙЧИВ. СПЕЦИФИКАЦИЯ.) БЛОК ЦИЛИНДРОВ
FIT
1:1
100%

Артикул

Название

Примечание

Количество

|$0

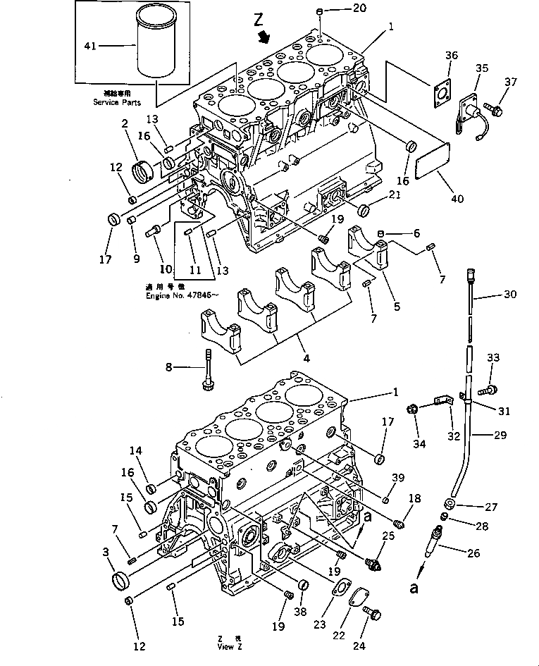
6204-21-1102

CYLINDER BLOCK ASS'Y

SN: 52380-UP

1шт.

|$1

0

CYLINDER BLOCK ASS'Y

SN: 36216-52379

1шт.

|$$3

(6204-21-1102,6204-51-1211)

-1шт.

1

0

BLOCK,CYLINDER

SN: 52380-UP

1шт.

1

0

BLOCK,CYLINDER

SN: 36216-52379

1шт.

2

6204-21-1410

BUSHING,CAMSHAFT

SN: 36216-UP

1шт.

3

6206-21-1420

BUSHING,CAMSHAFT

SN: 36216-UP

2шт.

4

0

CAP,MAIN METAL, NO.1,2,3,4

SN: 36216-UP

4шт.

5

0

CAP,MAIN METAL, NO.5

SN: 36216-UP

1шт.

6

6141-21-1530

RING,DOWEL

SN: 36216-UP

2шт.

7

04025-00408

PIN,SPRING

SN: 36216-UP

6шт.

8

6204-21-1610

BOLT,MAIN CAP

SN: 36216-UP

10шт.

9

6204-51-1711

BUSHING,OIL PUMP

SN: 52380-UP

1шт.

9

0

BUSHING,OIL PUMP

SN: 36216-52379

1шт.

10

6204-51-1620

SHAFT,OIL PUMP

SN: 36216-UP

1шт.

11

6136-52-1620

PIN,DOWEL

SN: 47846-UP

1шт.

12

07046-21810

PLUG

SN: 36216-UP

4шт.

13

04020-00820

PIN,DOWEL

SN: 36216-UP

2шт.

14

07046-42216

PLUG

SN: 36216-UP

1шт.

15

04020-01228

PIN,DOWEL

SN: 36216-UP

2шт.

16

07046-43016

PLUG

SN: 52380-UP

7шт.

16

07046-43016

PLUG

SN: 36216-52379

6шт.

17

07046-42516

PLUG

SN: 52380-UP

5шт.

17

07046-42516

PLUG

SN: 36216-52379

4шт.

18

07042-10312

PLUG

SN: 36216-UP

1шт.

19

07043-50108

PLUG

SN: 36216-UP

6шт.

20

6140-21-1130

BUSHING,DOWEL

SN: 36216-UP

2шт.

21

07046-23016

PLUG

SN: 36216-UP

1шт.

22

6204-21-6710

PLATE

SN: 36216-UP

1шт.

23

6132-11-4820

GASKET

SN: 36216-UP

1шт.

24

01435-20814

BOLT

SN: 36216-UP

2шт.

25

08073-00505

SWITCH

SN: 36216-UP

1шт.

26

6204-21-5510

GUIDE,BASE

SN: 36216-UP

1шт.

27

6150-21-5930

NUT

SN: 36216-UP

1шт.

28

6150-21-5920

COLLAR

SN: 36216-UP

1шт.

29

6204-21-5430

GUIDE,OIL GAUGE

SN: 36216-UP

1шт.

30

6204-21-5330

GAUGE,OIL

SN: 36216-UP

1шт.

31

6144-21-5650

CLIP

SN: 36216-UP

1шт.

32

6689-12-5950

STAY

SN: 36216-UP

1шт.

33

01435-20820

BOLT

SN: 36216-UP

1шт.

34

01584-00806

NUT

SN: 36216-UP

1шт.

35

600-815-6590

HEATER,WATER

SN: 36216-UP

1шт.

36

6206-61-8810

GASKET

SN: 36216-UP

1шт.

37

01435-21025

BOLT

SN: 36216-UP

4шт.

38

07046-42216

PLUG

SN: 36216-UP

1шт.

39

07046-41410

PLUG

SN: 36216-UP

1шт.

40

6204-81-2280

PLATE, NAME,(RUSSIAN)

SN: 36216-UP

1шт.

41

6207-21-2110

LINER (MARK A),CYLINDER

SN: 36216-UP

-2шт.

41

6207-21-2120

LINER (MARK B),CYLINDER

SN: 36216-UP

-2шт.

|$0

6204-21-1102

CYLINDER BLOCK ASS'Y

SN: 52380-UP

1шт.

|$1

0

CYLINDER BLOCK ASS'Y

SN: 36216-52379

1шт.

|$$3

(6204-21-1102,6204-51-1211)

-1шт.

1

0

BLOCK,CYLINDER

SN: 52380-UP

1шт.

1

0

BLOCK,CYLINDER

SN: 36216-52379

1шт.

2

6204-21-1410

BUSHING,CAMSHAFT

SN: 36216-UP

1шт.

3

6206-21-1420

BUSHING,CAMSHAFT

SN: 36216-UP

2шт.

4

0

CAP,MAIN METAL, NO.1,2,3,4

SN: 36216-UP

4шт.

5

0

CAP,MAIN METAL, NO.5

SN: 36216-UP

1шт.

6

6141-21-1530

RING,DOWEL

SN: 36216-UP

2шт.

7

04025-00408

PIN,SPRING

SN: 36216-UP

6шт.

8

6204-21-1610

BOLT,MAIN CAP

SN: 36216-UP

10шт.

9

6204-51-1711

BUSHING,OIL PUMP

SN: 52380-UP

1шт.

9

0

BUSHING,OIL PUMP

SN: 36216-52379

1шт.

10

6204-51-1620

SHAFT,OIL PUMP

SN: 36216-UP

1шт.

11

6136-52-1620

PIN,DOWEL

SN: 47846-UP

1шт.

12

07046-21810

PLUG

SN: 36216-UP

4шт.

13

04020-00820

PIN,DOWEL

SN: 36216-UP

2шт.

14

07046-42216

PLUG

SN: 36216-UP

1шт.

15

04020-01228

PIN,DOWEL

SN: 36216-UP

2шт.

16

07046-43016

PLUG

SN: 52380-UP

7шт.

16

07046-43016

PLUG

SN: 36216-52379

6шт.

17

07046-42516

PLUG

SN: 52380-UP

5шт.

17

07046-42516

PLUG

SN: 36216-52379

4шт.

18

07042-10312

PLUG

SN: 36216-UP

1шт.

19

07043-50108

PLUG

SN: 36216-UP

6шт.

20

6140-21-1130

BUSHING,DOWEL

SN: 36216-UP

2шт.

21

07046-23016

PLUG

SN: 36216-UP

1шт.

22

6204-21-6710

PLATE

SN: 36216-UP

1шт.

23

6132-11-4820

GASKET

SN: 36216-UP

1шт.

24

01435-20814

BOLT

SN: 36216-UP

2шт.

25

08073-00505

SWITCH

SN: 36216-UP

1шт.

26

6204-21-5510

GUIDE,BASE

SN: 36216-UP

1шт.

27

6150-21-5930

NUT

SN: 36216-UP

1шт.

28

6150-21-5920

COLLAR

SN: 36216-UP

1шт.

29

6204-21-5430

GUIDE,OIL GAUGE

SN: 36216-UP

1шт.

30

6204-21-5330

GAUGE,OIL

SN: 36216-UP

1шт.

31

6144-21-5650

CLIP

SN: 36216-UP

1шт.

32

6689-12-5950

STAY

SN: 36216-UP

1шт.

33

01435-20820

BOLT

SN: 36216-UP

1шт.

34

01584-00806

NUT

SN: 36216-UP

1шт.

35

600-815-6590

HEATER,WATER

SN: 36216-UP

1шт.

36

6206-61-8810

GASKET

SN: 36216-UP

1шт.

37

01435-21025

BOLT

SN: 36216-UP

4шт.

38

07046-42216

PLUG

SN: 36216-UP

1шт.

39

07046-41410

PLUG

SN: 36216-UP

1шт.

40

6204-81-2280

PLATE, NAME,(RUSSIAN)

SN: 36216-UP

1шт.

41

6207-21-2110

LINER (MARK A),CYLINDER

SN: 36216-UP

-2шт.

41

6207-21-2120

LINER (MARK B),CYLINDER

SN: 36216-UP

-2шт.

Выбрано товаров: 98