Запчасти Komatsu 4D95S-W-1F-PL БЛОК ЦИЛИНДРОВ БЛОК ЦИЛИНДРОВ

Схема запчастей Komatsu 4D95S-W-1F-PL - БЛОК ЦИЛИНДРОВ БЛОК ЦИЛИНДРОВ
FIT
1:1
100%

Артикул

Название

Примечание

Количество

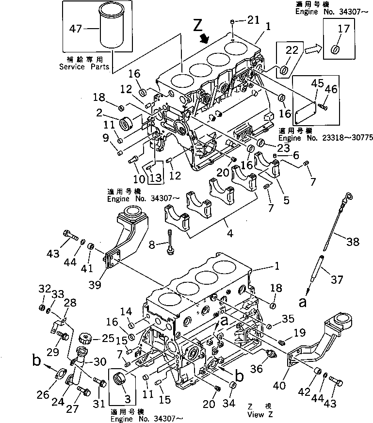
|1

6204-21-1102

CYLINDER BLOCK ASS'Y

SN: 34307-UP

1шт.

|1

0

CYLINDER BLOCK ASS'Y

SN: 23318-34306

1шт.

|$$3

(6204-21-1102{6204-51-1121)}

-1шт.

1

0

BLOCK,CYLINDER

SN: 34307-UP

1шт.

|1

0

BLOCK,CYLINDER

SN: 23318-34306

1шт.

2

6204-21-1410

BUSHING,CAMSHAFT

SN: 23318-UP

1шт.

3

6206-21-1420

BUSHING,CAMSHAFT

SN: 34307-UP

2шт.

4

0

CAP,MAIN METAL¤ NO.1¤2¤3¤4

SN: 23318-UP

4шт.

5

0

CAP,MAIN METAL¤ NO.5

SN: 23318-UP

1шт.

6

6141-21-1530

RING,DOWEL

SN: 23318-UP

2шт.

7

04025-00408

PIN,SPRING

SN: 23318-UP

6шт.

8

6204-21-1610

BOLT,MAIN CAP

SN: 23318-UP

10шт.

9

6204-51-1711

BUSHING,OIL PUMP

SN: 34307-UP

1шт.

|9

0

BUSHING,OIL PUMP

SN: 23318-34306

1шт.

10

6204-51-1620

SHAFT,OIL PUMP

SN: 23318-UP

1шт.

11

07046-41810

PLUG

SN: 23318-UP

4шт.

12

04020-00820

PIN,DOWEL

SN: 23318-UP

2шт.

13

6136-52-1620

PIN,DOWEL

SN: 34307-UP

1шт.

14

07046-42216

PLUG

SN: 23318-UP

1шт.

15

04020-01228

PIN,DOWEL

SN: 23318-UP

2шт.

16

07046-43016

PLUG

SN: 34307-UP

7шт.

|16

07046-43016

PLUG

SN: 23318-34306

6шт.

17

07046-44016

PLUG

SN: 34307-UP

1шт.

18

07046-42516

PLUG

SN: 34307-UP

5шт.

|18

07046-42516

PLUG

SN: 23318-34306

4шт.

19

07042-10312

PLUG

SN: 23318-UP

1шт.

20

07043-50108

PLUG

SN: 23318-UP

6шт.

21

6140-21-1130

BUSHING,DOWEL

SN: 23318-UP

2шт.

22

07046-44016

PLUG

SN: 23318-34306

1шт.

23

07046-23016

PLUG

SN: 23318-UP

1шт.

|24

6202-22-7100

FILLER ASS'Y

SN: 23318-UP

1шт.

24

6202-22-7110

FILLER

SN: 23318-UP

1шт.

25

6136-21-7120

CAP ASS'Y

SN: 23318-UP

1шт.

26

6132-11-4820

GASKET (K2)

SN: 23318-UP

1шт.

27

01435-20820

BOLT

SN: 23318-UP

2шт.

28

6202-22-7170

BRACKET

SN: 23318-34321

1шт.

29

01435-21016

BOLT

SN: 23318-34321

1шт.

30

6301-65-8590

CLAMP

SN: 23318-34321

1шт.

31

01435-20816

BOLT

SN: 23318-34321

1шт.

32

01580-00806

NUT

SN: 23318-34321

1шт.

33

01602-00825

WASHER,SPRING

SN: 23318-34321

1шт.

34

07046-42216

PLUG,(WITHOUT OIL COOLER)

SN: 23318-UP

1шт.

35

07046-41410

PLUG,(WITHOUT OIL COOLER)

SN: 23318-UP

1шт.

36

08073-00505

SWITCH

SN: 23318-UP

1шт.

37

6202-21-5410

GUIDE,OIL GAUGE

SN: 23318-UP

1шт.

38

6202-21-5320

GAUGE,OIL

SN: 23318-UP

1шт.

39

6204-21-3710

SUPPORT,L.H.

SN: 23318-UP

1шт.

40

6204-21-3720

SUPPORT,R.H.

SN: 23318-UP

1шт.

41

144-874-7470

BOSS

SN: 36389-UP

4шт.

|41

195-01-14540

COLLAR

SN: 23318-36388

4шт.

42

144-874-7470

BOSS

SN: 23318-UP

4шт.

43

01010-51055

BOLT

SN: 23318-UP

8шт.

44

01643-31032

WASHER

SN: 23318-UP

8шт.

45

09605-01411

PLATE¤ NAME,(ENGLISH)

SN: 23318-30775

1шт.

46

04418-02550

SCREW

SN: 23318-30775

4шт.

47

6207-21-2110

LINER (MARK A),CYLINDER

SN: 23318-UP

-2шт.

|47

6207-21-2120

LINER (MARK B),CYLINDER

SN: 23318-UP

-2шт.

Выбрано товаров: 57