Запчасти Komatsu 6D105-1BB - -

Схема запчастей Komatsu 6D105-1BB - - -
FIT
1:1
100%

Артикул

Название

Примечание

Количество

|1

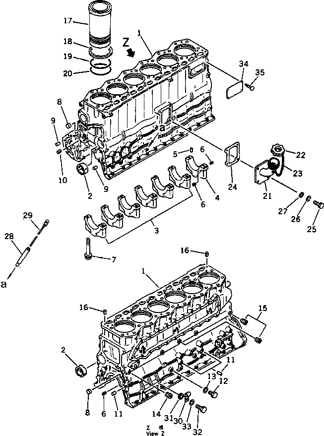
6136-22-1021

CYLINDER BLOCK

SN: 86387-UP

1шт.

1

0

SN: 86387-UP

1шт.

2

6136-21-1410

BUSHING

SN: 86387-UP

4шт.

3

0

CAP

SN: 86387-UP

6шт.

4

0

CAP

SN: 86387-UP

1шт.

5

04020-00514

DOWEL PIN

SN: 86387-UP

1шт.

6

04025-00408

ROLL PIN

SN: 86387-UP

6шт.

7

6136-22-1710

BOLT

SN: 86387-UP

14шт.

8

6130-11-1420

PLUG

SN: 86387-UP

2шт.

9

6136-21-1911

DOWEL PIN

SN: 86387-UP

2шт.

10

04025-00512

ROLL PIN

SN: 86387-UP

1шт.

11

04020-01228

DOWEL PIN

SN: 86387-UP

4шт.

12

07040-11209

PLUG

SN: 86387-UP

1шт.

13

07005-01212

SEAL

SN: 86387-UP

1шт.

14

07043-50211

PLUG

SN: 86387-UP

2шт.

15

07043-50108

PLUG

SN: 86387-UP

3шт.

16

04025-00820

ROLL PIN

SN: 86387-UP

2шт.

17

6136-21-2210

CYLINDER LINER

SN: 86387-UP

6шт.

18

6136-21-2220

CREVICE SEAL

SN: 86387-UP

6шт.

19

6136-21-2230

O-RING

SN: 86387-UP

6шт.

20

6136-21-2240

O-RING

SN: 86387-UP

6шт.

|21

6136-21-7100

OIL FILLER ASS'

SN: 86387-UP

1шт.

21

6136-21-7111

OIL FILLER

SN: 86387-UP

1шт.

22

6136-21-7120

CAP ASS'Y

SN: 86387-UP

1шт.

|22

6136-21-7180

GASKET

SN: 86387-UP

1шт.

23

6136-21-7190

CHAIN

SN: 86387-UP

1шт.

24

6136-21-7811

GASKET

SN: 86387-UP

1шт.

25

01010-31030

BOLT

SN: 86387-UP

4шт.

26

01602-01030

WASHER

SN: 86387-UP

4шт.

27

01640-21016

WASHER

SN: 86387-UP

4шт.

28

6136-21-5410

GUIDE

SN: 86387-UP

1шт.

29

6136-21-5520

GAUGE

SN: 86387-UP

1шт.

30

08036-10814

CLIP

SN: 86387-UP

1шт.

31

6131-22-3760

BOSS

SN: 86387-UP

1шт.

32

01010-31220

BOLT

SN: 86387-UP

1шт.

33

01643-31232

WASHER

SN: 86387-UP

1шт.

34

09605-01332

PLATE

SN: 86387-UP

1шт.

|34

09605-11420

NAME PLATE

SN: 86387-UP

1шт.

|34

09605-21420

PLATE

SN: 86387-UP

1шт.

|34

09605-41420

PLATE

SN: 86387-UP

1шт.

|34

09605-53420

PLATE

SN: 86387-UP

1шт.

|34

6136-82-2150

NAME PLATE

SN: 86387-UP

1шт.

35

04418-02550

SCREW

SN: 86387-UP

4шт.

|1

6136-22-1021

CYLINDER BLOCK

SN: 86387-UP

1шт.

1

0

SN: 86387-UP

1шт.

2

6136-21-1410

BUSHING

SN: 86387-UP

4шт.

3

0

CAP

SN: 86387-UP

6шт.

4

0

CAP

SN: 86387-UP

1шт.

5

04020-00514

DOWEL PIN

SN: 86387-UP

1шт.

6

04025-00408

ROLL PIN

SN: 86387-UP

6шт.

7

6136-22-1710

BOLT

SN: 86387-UP

14шт.

8

6130-11-1420

PLUG

SN: 86387-UP

2шт.

9

6136-21-1911

DOWEL PIN

SN: 86387-UP

2шт.

10

04025-00512

ROLL PIN

SN: 86387-UP

1шт.

11

04020-01228

DOWEL PIN

SN: 86387-UP

4шт.

12

07040-11209

PLUG

SN: 86387-UP

1шт.

13

07005-01212

SEAL

SN: 86387-UP

1шт.

14

07043-50211

PLUG

SN: 86387-UP

2шт.

15

07043-50108

PLUG

SN: 86387-UP

3шт.

16

04025-00820

ROLL PIN

SN: 86387-UP

2шт.

17

6136-21-2210

CYLINDER LINER

SN: 86387-UP

6шт.

18

6136-21-2220

CREVICE SEAL

SN: 86387-UP

6шт.

19

6136-21-2230

O-RING

SN: 86387-UP

6шт.

20

6136-21-2240

O-RING

SN: 86387-UP

6шт.

|21

6136-21-7100

OIL FILLER ASS'

SN: 86387-UP

1шт.

21

6136-21-7111

OIL FILLER

SN: 86387-UP

1шт.

22

6136-21-7120

CAP ASS'Y

SN: 86387-UP

1шт.

|22

6136-21-7180

GASKET

SN: 86387-UP

1шт.

23

6136-21-7190

CHAIN

SN: 86387-UP

1шт.

24

6136-21-7811

GASKET

SN: 86387-UP

1шт.

25

01010-31030

BOLT

SN: 86387-UP

4шт.

26

01602-01030

WASHER

SN: 86387-UP

4шт.

27

01640-21016

WASHER

SN: 86387-UP

4шт.

28

6136-21-5410

GUIDE

SN: 86387-UP

1шт.

29

6136-21-5520

GAUGE

SN: 86387-UP

1шт.

30

08036-10814

CLIP

SN: 86387-UP

1шт.

31

6131-22-3760

BOSS

SN: 86387-UP

1шт.

32

01010-31220

BOLT

SN: 86387-UP

1шт.

33

01643-31232

WASHER

SN: 86387-UP

1шт.

34

09605-01332

PLATE

SN: 86387-UP

1шт.

|34

09605-11420

NAME PLATE

SN: 86387-UP

1шт.

|34

09605-21420

PLATE

SN: 86387-UP

1шт.

|34

09605-41420

PLATE

SN: 86387-UP

1шт.

|34

09605-53420

PLATE

SN: 86387-UP

1шт.

|34

6136-82-2150

NAME PLATE

SN: 86387-UP

1шт.

35

04418-02550

SCREW

SN: 86387-UP

4шт.

Выбрано товаров: 86