Запчасти Komatsu 6D105-1BB - -

Схема запчастей Komatsu 6D105-1BB - - -
FIT
1:1
100%

Артикул

Название

Примечание

Количество

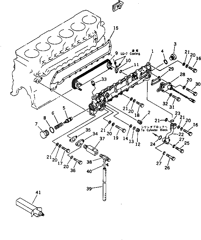
|1

6136-62-2201

OIL COOLER ASS'

SN: 62390-UP

1шт.

1

6136-62-2211

COVER

SN: 62390-UP

1шт.

|1

07043-00415

PLUG

SN: 62390-UP

1шт.

2

02720-40607

PLUG

SN: 62390-UP

2шт.

3

6138-61-2180

PLUG

SN: 62390-UP

1шт.

4

6136-61-2190

O-RING

SN: 62390-UP

1шт.

5

6136-62-2170

VALVE

SN: 62390-UP

1шт.

6

6136-62-2160

SPRING

SN: 62390-UP

1шт.

7

6136-62-2140

PLUG

SN: 62390-UP

1шт.

8

6136-61-2150

O-RING

SN: 62390-UP

1шт.

9

600-651-1440

ELEMENT

SN: 62390-UP

1шт.

10

6136-61-2190

O-RING

SN: 62390-UP

2шт.

11

6136-61-2290

GASKET

SN: 103447-UP

2шт.

|11

6136-61-2290

GASKET

SN: 62390-103446

2шт.

12

01580-10806

NUT

SN: 62390-UP

4шт.

13

01602-20825

WASHER

SN: 62390-UP

4шт.

14

01641-20812

WASHER

SN: 62390-UP

4шт.

15

6136-61-2811

GASKET

SN: 62390-UP

1шт.

16

01010-30825

BOLT

SN: 62390-UP

5шт.

17

01010-30830

BOLT

SN: 62390-UP

2шт.

18

01010-30835

BOLT

SN: 62390-UP

12шт.

19

01010-30865

BOLT

SN: 62390-UP

1шт.

20

01602-00825

WASHER

SN: 62390-UP

24шт.

21

01640-20816

WASHER

SN: 62390-UP

21шт.

22

6136-51-6311

PIPE

SN: 62390-UP

1шт.

23

07000-23022

O-RING

SN: 62390-UP

1шт.

24

07000-63028

O-RING

SN: 62390-UP

1шт.

25

01010-30830

BOLT

SN: 62390-UP

1шт.

26

01010-30840

BOLT

SN: 62390-UP

1шт.

27

01602-00825

WASHER

SN: 62390-UP

2шт.

28

600-815-6470

HEATER

SN: 62390-UP

1шт.

29

6136-61-6810

GASKET

SN: 62390-UP

1шт.

30

01010-30880

BOLT

SN: 62390-UP

2шт.

31

01010-30825

BOLT

SN: 62390-UP

2шт.

32

01602-00825

WASHER

SN: 62390-UP

2шт.

33

07042-00415

PLUG

SN: 62390-UP

1шт.

34

6136-61-9720

PLATE

SN: 62390-UP

1шт.

35

6136-61-8810

GASKET

SN: 62390-UP

1шт.

36

01010-30865

BOLT

SN: 62390-UP

2шт.

37

6136-61-8670

NIPPLE

SN: 62390-UP

1шт.

38

6140-61-6512

VALVE

SN: 62390-UP

1шт.

39

07286-00835

HOSE

SN: 92179-UP

1шт.

|39

6140-61-6612

HOSE

SN: 62390-92178

1шт.

40

6144-61-6510

CLIP

SN: 62390-UP

1шт.

41

09920-00150

GASKET LIQUID

SN: 62390-UP

1шт.

|1

6136-62-2201

OIL COOLER ASS'

SN: 62390-UP

1шт.

1

6136-62-2211

COVER

SN: 62390-UP

1шт.

|1

07043-00415

PLUG

SN: 62390-UP

1шт.

2

02720-40607

PLUG

SN: 62390-UP

2шт.

3

6138-61-2180

PLUG

SN: 62390-UP

1шт.

4

6136-61-2190

O-RING

SN: 62390-UP

1шт.

5

6136-62-2170

VALVE

SN: 62390-UP

1шт.

6

6136-62-2160

SPRING

SN: 62390-UP

1шт.

7

6136-62-2140

PLUG

SN: 62390-UP

1шт.

8

6136-61-2150

O-RING

SN: 62390-UP

1шт.

9

600-651-1440

ELEMENT

SN: 62390-UP

1шт.

10

6136-61-2190

O-RING

SN: 62390-UP

2шт.

11

6136-61-2290

GASKET

SN: 103447-UP

2шт.

|11

6136-61-2290

GASKET

SN: 62390-103446

2шт.

12

01580-10806

NUT

SN: 62390-UP

4шт.

13

01602-20825

WASHER

SN: 62390-UP

4шт.

14

01641-20812

WASHER

SN: 62390-UP

4шт.

15

6136-61-2811

GASKET

SN: 62390-UP

1шт.

16

01010-30825

BOLT

SN: 62390-UP

5шт.

17

01010-30830

BOLT

SN: 62390-UP

2шт.

18

01010-30835

BOLT

SN: 62390-UP

12шт.

19

01010-30865

BOLT

SN: 62390-UP

1шт.

20

01602-00825

WASHER

SN: 62390-UP

24шт.

21

01640-20816

WASHER

SN: 62390-UP

21шт.

22

6136-51-6311

PIPE

SN: 62390-UP

1шт.

23

07000-23022

O-RING

SN: 62390-UP

1шт.

24

07000-63028

O-RING

SN: 62390-UP

1шт.

25

01010-30830

BOLT

SN: 62390-UP

1шт.

26

01010-30840

BOLT

SN: 62390-UP

1шт.

27

01602-00825

WASHER

SN: 62390-UP

2шт.

28

600-815-6470

HEATER

SN: 62390-UP

1шт.

29

6136-61-6810

GASKET

SN: 62390-UP

1шт.

30

01010-30880

BOLT

SN: 62390-UP

2шт.

31

01010-30825

BOLT

SN: 62390-UP

2шт.

32

01602-00825

WASHER

SN: 62390-UP

2шт.

33

07042-00415

PLUG

SN: 62390-UP

1шт.

34

6136-61-9720

PLATE

SN: 62390-UP

1шт.

35

6136-61-8810

GASKET

SN: 62390-UP

1шт.

36

01010-30865

BOLT

SN: 62390-UP

2шт.

37

6136-61-8670

NIPPLE

SN: 62390-UP

1шт.

38

6140-61-6512

VALVE

SN: 62390-UP

1шт.

39

07286-00835

HOSE

SN: 92179-UP

1шт.

|39

6140-61-6612

HOSE

SN: 62390-92178

1шт.

40

6144-61-6510

CLIP

SN: 62390-UP

1шт.

41

09920-00150

GASKET LIQUID

SN: 62390-UP

1шт.

Выбрано товаров: 90