Запчасти Komatsu 6D105-1EE-U БЛОК ЦИЛИНДРОВ(№-) БЛОК ЦИЛИНДРОВ

Схема запчастей Komatsu 6D105-1EE-U - БЛОК ЦИЛИНДРОВ(№-) БЛОК ЦИЛИНДРОВ
FIT
1:1
100%

Артикул

Название

Примечание

Количество

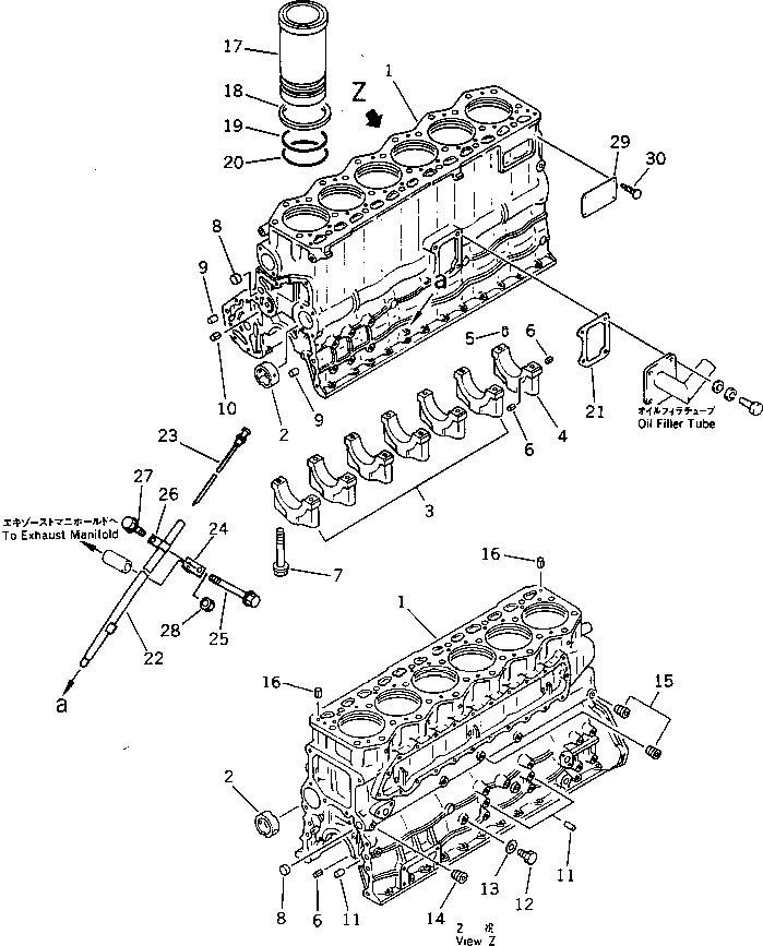
|1

6136-22-1021

CYLINDER BLOCK ASS'Y

SN: 106661-UP

1шт.

1

0

BLOCK,CYLINDER

SN: 106661-UP

1шт.

2

6136-21-1410

BUSHING,CAMSHAFT

SN: 106661-UP

4шт.

3

0

CAP,MAIN METAL¤ NO.1¤2¤3¤4¤5¤6

SN: 106661-UP

6шт.

4

0

CAP,MAIN METAL¤ NO.7

SN: 106661-UP

1шт.

5

04020-00514

PIN,DOWEL

SN: 106661-UP

1шт.

6

04025-00408

PIN,SPRING

SN: 106661-UP

6шт.

7

6136-22-1710

BOLT,MAIN CAP

SN: 106661-UP

14шт.

8

6130-11-1420

PLUG,EXPANSION

SN: 106661-UP

2шт.

9

6136-21-1911

PIN,DOWEL

SN: 106661-UP

2шт.

10

04025-00512

PIN,SPRING

SN: 106661-UP

1шт.

11

04020-01228

PIN,DOWEL

SN: 106661-UP

4шт.

12

07040-11209

PLUG

SN: 106661-UP

1шт.

13

07005-01212

GASKET (K2)

SN: 106661-UP

1шт.

14

07043-50211

PLUG

SN: 106661-UP

2шт.

15

07043-50108

PLUG

SN: 106661-UP

3шт.

16

04025-00820

PIN,SPRING

SN: 106661-UP

2шт.

17

6136-21-2210

LINER,CYLINDER

SN: 106661-UP

6шт.

18

6136-21-2220

SEAL,CREVICE (K2)

SN: 106661-UP

6шт.

19

6136-21-2230

O-RING,UPPER (K2)

SN: 106661-UP

6шт.

20

6136-21-2240

O-RING,LOWER (K2)

SN: 106661-UP

6шт.

21

6136-21-7811

GASKET (K2)

SN: 106661-UP

1шт.

22

6136-21-5570

GUIDE,OIL GAUGE

SN: 106661-UP

1шт.

23

6206-21-5370

GAUGE,OIL

SN: 106661-UP

1шт.

24

6136-21-5630

BRACKET

SN: 106661-UP

1шт.

25

01435-01005

BOLT,(SEE FIG.0154)

SN: 106661-UP

1шт.

26

04434-51310

CLIP

SN: 106661-UP

1шт.

27

01435-01020

BOLT

SN: 106661-UP

1шт.

28

01584-01008

NUT

SN: 106661-UP

-2шт.

29

09605-01332

PLATE¤ NAME,(ENGLISH) (LIMITED SUPPLY)

SN: 106661-UP

1шт.

30

04418-02550

SCREW

SN: 106661-UP

4шт.

Выбрано товаров: 31