Запчасти Komatsu 6D105-1F ГОЛОВКА ЦИЛИНДРОВ COVER(№8-89) ГОЛОВКА ЦИЛИНДРОВ

Схема запчастей Komatsu 6D105-1F - ГОЛОВКА ЦИЛИНДРОВ COVER(№8-89) ГОЛОВКА ЦИЛИНДРОВ
FIT
1:1
100%

Артикул

Название

Примечание

Количество

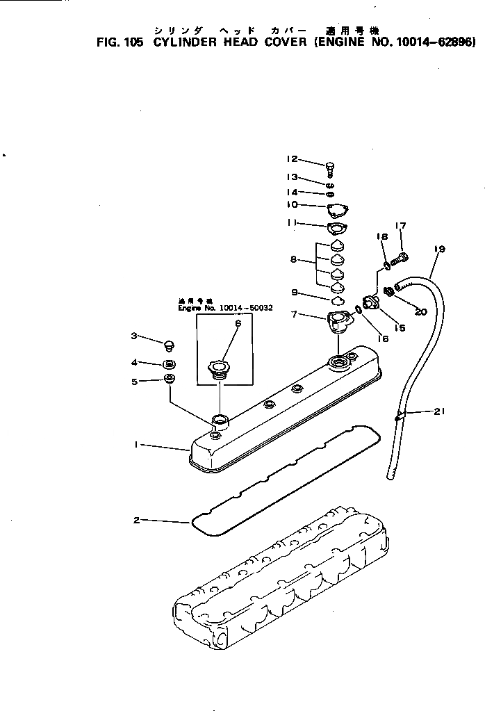
1

6136-11-8150

COVER,HEAD

SN: 50033-62896

1шт.

1

6136-11-8111

COVER,HEAD

SN: 12218-50032

1шт.

2

6136-11-8812

O-RING (K1)

SN: .-62896

1шт.

2

0

O-RING (K1)

SN: 12218-.

1шт.

3

6136-11-8120

NUT

SN: 12218-@

4шт.

4

6136-11-8130

WASHER

SN: 12218-@

4шт.

5

6136-11-8142

PACKING (K1)

SN: 12218-@

4шт.

5

6136-11-8180

PACKING,(COLD TERRAIN SPEC.)

SN: .-@

4шт.

6

6136-11-8610

CAP

SN: 12218-50032

1шт.

|$9

6685-21-7400

BREATHER ASS'Y

SN: 12218-62896

1шт.

7

6685-21-7410

BODY

SN: 12218-62896

1шт.

8

6685-21-7440

SCREEN

SN: 12218-62896

4шт.

9

6685-21-7460

BAFFLE

SN: 12218-62896

1шт.

10

6685-21-7420

COVER

SN: 12218-62896

1шт.

11

6685-21-7430

GASKET (K1)

SN: 12218-62896

1шт.

12

02010-30422

BOLT

SN: 12218-62896

3шт.

13

02310-00916

WASHER,SPRING

SN: 12218-62896

3шт.

14

02300-00920

WASHER

SN: 12218-62896

3шт.

15

6136-21-7630

PIPE,BREATHER

SN: .-62896

1шт.

15

6136-21-7610

PIPE,BREATHER

SN: 12218-.

1шт.

16

07000-03020

O-RING (K1)

SN: 12218-62896

1шт.

17

02010-70522

BOLT

SN: 12218-62896

2шт.

18

01602-00825

WASHER,SPRING

SN: 12218-62896

2шт.

19

6130-15-8850

HOSE

SN: 52022-@

1шт.

19

6136-11-8851

HOSE

SN: 12218-52021

1шт.

20

07280-02523

CLAMP

SN: 12218-@

1шт.

21

6600-01-5950

CLIP

SN: 12218-@

1шт.

Выбрано товаров: 0