Запчасти Komatsu 6D105-1U ГОЛОВКА ЦИЛИНДРОВ COVER(№89-) ГОЛОВКА ЦИЛИНДРОВ

Схема запчастей Komatsu 6D105-1U - ГОЛОВКА ЦИЛИНДРОВ COVER(№89-) ГОЛОВКА ЦИЛИНДРОВ
FIT
1:1
100%

Артикул

Название

Примечание

Количество

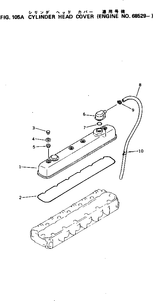
1

6136-11-8151

COVER,HEAD

SN: 68529-UP

1шт.

2

6136-11-8814

O-RING (K1)

SN: 68529-UP

1шт.

3

6136-11-8120

NUT

SN: 52271-UP

4шт.

4

6136-11-8130

WASHER

SN: 52271-UP

4шт.

5

6136-11-8142

PACKING (K1)

SN: 52271-UP

4шт.

6

6150-21-6750

BREATHER

SN: 68529-UP

1шт.

7

6114-21-5190

O-RING (K1)

SN: 68529-UP

1шт.

8

6130-15-8850

HOSE,BREATHER

SN: 52271-UP

1шт.

9

07280-02523

CLAMP

SN: 52271-UP

1шт.

10

6600-01-5950

CLIP

SN: 52271-UP

1шт.

Выбрано товаров: 10