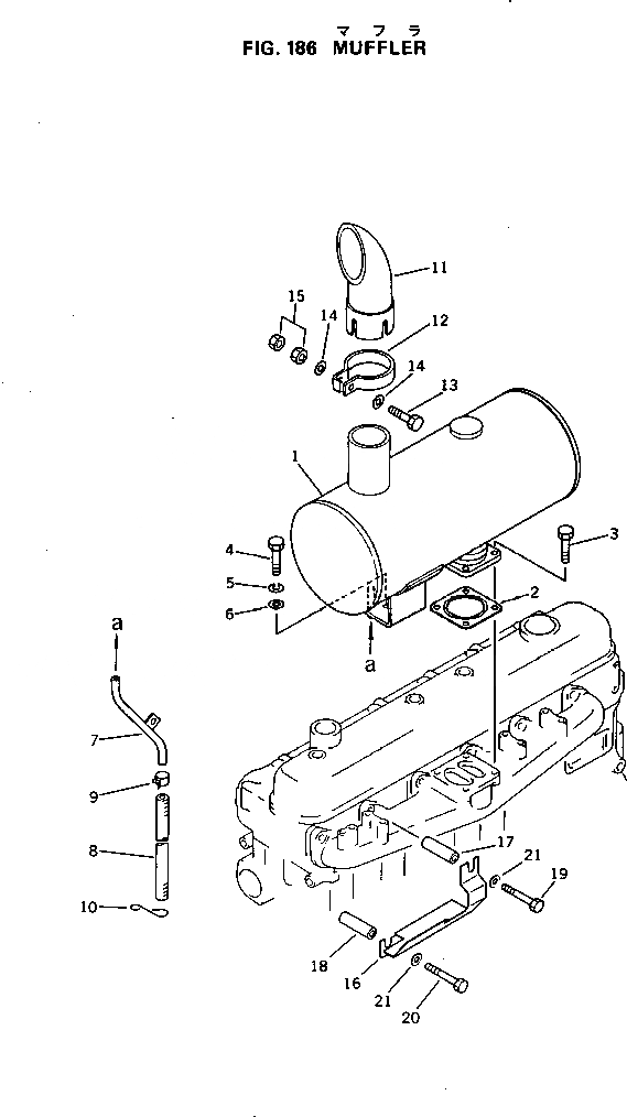
Запчасти Komatsu 6D105-1U ГЛУШИТЕЛЬ ГОЛОВКА ЦИЛИНДРОВ

Схема запчастей Komatsu 6D105-1U - ГЛУШИТЕЛЬ ГОЛОВКА ЦИЛИНДРОВ
FIT
1:1
100%

Артикул

Название

Примечание

Количество

1

6136-11-5570

MUFFLER

SN: 52271-UP

1шт.

2

6131-15-5350

GASKET (K1)

SN: 52271-UP

1шт.

3

01010-31025

BOLT

SN: 52271-UP

4шт.

4

01010-31020

BOLT

SN: 52271-UP

2шт.

5

01602-01030

WASHER,SPRING

SN: 52271-UP

2шт.

6

01642-01016

WASHER

SN: 52271-UP

2шт.

7

6136-11-5611

PIPE,DRAIN

SN: 52271-UP

1шт.

8

07260-20963

HOSE

SN: 52271-UP

1шт.

9

6136-11-5680

CLIP

SN: 52271-UP

1шт.

10

6130-21-5260

CLIP

SN: 52271-UP

1шт.

11

6136-11-5761

PIPE,EXHAUST

SN: 52271-UP

1шт.

12

6136-11-5670

CLAMP

SN: 52271-UP

1шт.

13

01010-30840

BOLT

SN: 52271-UP

1шт.

14

01640-20816

WASHER

SN: 52271-UP

2шт.

15

01580-00806

NUT

SN: 52271-UP

2шт.

16

6136-11-5310

PLATE

SN: 55461-UP

1шт.

17

6136-11-5120

SPACER

SN: 52271-UP

1шт.

18

6112-21-6960

SPACER

SN: 52271-UP

1шт.

19

01011-31000

BOLT

SN: 52271-UP

1шт.

20

01010-31060

BOLT

SN: 52271-UP

1шт.

21

01643-31032

WASHER

SN: 52271-UP

2шт.

Выбрано товаров: 21