Запчасти Komatsu 6D105-1U ТРУБОПРОВОД ВПУСКА ВОЗДУХА И СОЕДИН-Е ГОЛОВКА ЦИЛИНДРОВ

Схема запчастей Komatsu 6D105-1U - ТРУБОПРОВОД ВПУСКА ВОЗДУХА И СОЕДИН-Е ГОЛОВКА ЦИЛИНДРОВ
FIT
1:1
100%

Артикул

Название

Примечание

Количество

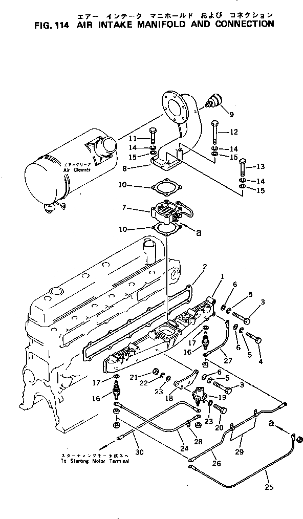
1

6136-11-4123

MANIFOLD,INTAKE

SN: 52271-UP

1шт.

2

6136-11-4811

GASKET (K1)

SN: 52271-UP

1шт.

3

01010-30865

BOLT

SN: 52271-UP

10шт.

4

01010-30850

BOLT

SN: 52271-UP

2шт.

5

01602-00825

WASHER,SPRING

SN: 52271-UP

12шт.

6

01640-00816

WASHER

SN: 52271-UP

12шт.

7

600-815-2341

HEATER,RIBBON

SN: 52271-UP

1шт.

8

6136-81-8640

NIPPLE

SN: 52271-UP

1шт.

9

08670-02001

INDICATOR,DUST

SN: 52271-UP

1шт.

10

6136-11-4820

GASKET (K1)

SN: 52271-UP

2шт.

11

01010-30870

BOLT

SN: 52271-UP

1шт.

12

146-61-11390

BOLT

SN: 52271-UP

2шт.

13

232-32-12251

BOLT

SN: 52271-UP

1шт.

14

01602-00825

WASHER,SPRING

SN: 52271-UP

4шт.

15

01640-00816

WASHER

SN: 52271-UP

4шт.

16

600-815-2350

HEATER,COIL

SN: 52271-UP

2шт.

17

07003-02228

GASKET

SN: 52271-UP

1шт.

18

6136-81-4111

PLATE

SN: 52271-UP

1шт.

19

600-815-2170

SWITCH

SN: 52271-UP

1шт.

20

01010-30620

BOLT

SN: 52271-UP

2шт.

21

01580-00605

NUT

SN: 52271-UP

2шт.

22

01602-00619

WASHER,SPRING

SN: 52271-UP

2шт.

23

01641-20608

WASHER

SN: 52271-UP

4шт.

24

6136-81-4210

WIRE

SN: 52271-UP

1шт.

25

6136-81-4220

WIRE

SN: 52271-UP

1шт.

26

6136-81-4230

WIRE

SN: 52271-UP

1шт.

27

6136-81-4240

WIRE

SN: 52271-UP

1шт.

28

08036-11210

CLIP

SN: 52271-UP

1шт.

29

08036-10814

CLIP

SN: 52271-UP

2шт.

30

6136-81-4250

WIRE

SN: 52271-UP

1шт.

Выбрано товаров: 30