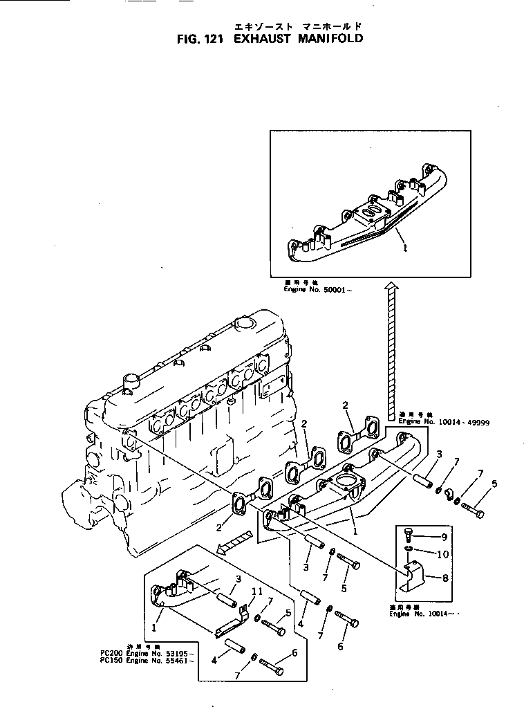
Запчасти Komatsu 6D105-1U ВЫПУСКНОЙ КОЛЛЕКТОР ГОЛОВКА ЦИЛИНДРОВ

Схема запчастей Komatsu 6D105-1U - ВЫПУСКНОЙ КОЛЛЕКТОР ГОЛОВКА ЦИЛИНДРОВ
FIT
1:1
100%

Артикул

Название

Примечание

Количество

1

6136-11-5113

MANIFOLD,EXHAUST

SN: 52271-UP

1шт.

2

6136-11-5810

GASKET (K1)

SN: 52271-UP

3шт.

3

6136-11-5120

SPACER

SN: 52271-UP

11шт.

4

6112-21-6960

SPACER

SN: 52271-UP

1шт.

5

01011-31005

BOLT

SN: 52271-UP

2шт.

5

01011-31000

BOLT

SN: 52271-UP

9шт.

6

01010-31060

BOLT

SN: 52271-UP

1шт.

7

01643-31032

WASHER

SN: 52271-UP

2шт.

8

6136-11-5130

PLATE

SN: 52271-.

1шт.

9

01010-30816

BOLT

SN: 52271-.

2шт.

10

01602-00825

WASHER,SPRING

SN: 52271-.

2шт.

11

6136-11-5310

PLATE

SN: 53195-UP

1шт.

Выбрано товаров: 0