Запчасти Komatsu 6D105-1V ТОПЛИВН. ФОРСУНКА И СЛИВНАЯ ТРУБКА ТОПЛИВН. СИСТЕМА

Схема запчастей Komatsu 6D105-1V - ТОПЛИВН. ФОРСУНКА И СЛИВНАЯ ТРУБКА ТОПЛИВН. СИСТЕМА
FIT
1:1
100%

Артикул

Название

Примечание

Количество

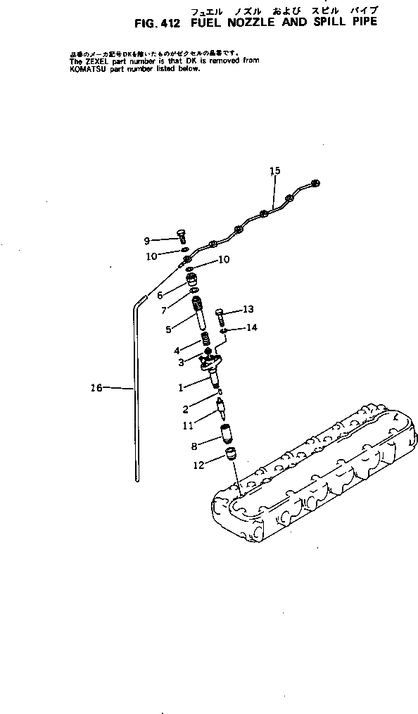
|1

6136-12-3200

NOZZLE HOLDER ASS'Y

SN: 55458-UP

6шт.

1

6136-12-3110

HOLDER ASS'Y

SN: 55458-UP

1шт.

2

DK150508-3300

PIN

SN: 55458-UP

2шт.

3

DK150550-3600

ROD,PUSH

SN: 55458-UP

1шт.

4

DK150562-1400

SPRING

SN: 55458-UP

1шт.

5

DK150565-2001

SCREW,ADJUST

SN: 55458-UP

1шт.

6

DK150567-5100

NUT

SN: 55458-UP

1шт.

7

DK029331-4130

GASKET

SN: 55458-UP

1шт.

8

DK150650-7301

NUT,RETAINING

SN: 55458-UP

1шт.

9

6127-11-3152

BOLT

SN: 55458-UP

1шт.

10

07005-00812

GASKET (K1)

SN: 55458-UP

2шт.

11

6136-12-3220

NOZZLE

SN: 55458-UP

1шт.

12

6136-11-3131

PACKING (K1)

SN: 77381-UP

6шт.

|12

6136-11-3131

PACKING

SN: 55458-77380

6шт.

13

01010-30855

BOLT

SN: 55458-UP

12шт.

14

01602-00825

WASHER,SPRING

SN: 55458-UP

12шт.

15

6136-71-5310

PIPE,SPILL

SN: 55458-UP

1шт.

16

6110-71-5322

TUBE,SPILL

SN: 55458-UP

1шт.

Выбрано товаров: 18