Запчасти Komatsu 6D105-1V СТАРТЕР (.KW)(№8-7787) ОХЛАЖД-Е И ЭЛЕКТРИКАS

Схема запчастей Komatsu 6D105-1V - СТАРТЕР (.KW)(№8-7787) ОХЛАЖД-Е И ЭЛЕКТРИКАS
FIT
1:1
100%

Артикул

Название

Примечание

Количество

|1

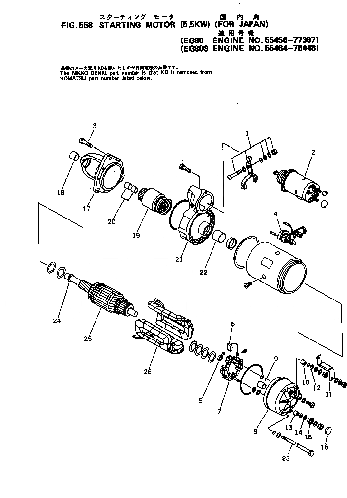
600-813-2243

STARTING MOTOR ASS'Y,(5.5KW)

SN: 55458-77387

1шт.

1

KD7-21320-0830

SHIFT LEVER ASS'Y

SN: 55458-77387

1шт.

2

KD0-47100-3060

MAGNETIC SWITCH A.

SN: 55458-77387

1шт.

3

KD1-0240-06185

BOLT

SN: 55458-77387

6шт.

4

KD0-25000-6080

SWITCH ASS'Y

SN: 55458-77387

1шт.

|5

KD7-21700-0190

REAR BRACKET ASS'Y

SN: 55458-77387

1шт.

5

KD1-21913-0370

SPRING,BRUSH

SN: 55458-77387

4шт.

6

KD1-21740-0440

BRUSH

SN: 55458-77387

4шт.

7

KD0-21750-1432

BRUSH HOLDER A.

SN: 55458-77387

1шт.

8

KD0-21700-1690

REAR BRACKET A.

SN: 55458-77387

1шт.

9

KD7-21351-0950

METAL

SN: 55458-77387

1шт.

10

KD1-21944-1060

TUBE,INSULATE

SN: 55458-77387

1шт.

11

KD1-21784-1220

BAR,CONNECT

SN: 55458-77387

1шт.

12

KD1-21941-0230

WASHER,INSULATE

SN: 55458-77387

2шт.

13

KD1-21944-1050

TUBE,INSULATE

SN: 55458-77387

1шт.

14

KD1-21941-0590

WASHER,INSULATE

SN: 55458-77387

2шт.

15

KD1-21927-0160

HOLDER

SN: 55458-77387

1шт.

16

KD1-09252-0370

CAP

SN: 55458-77387

1шт.

17

KD1-21300-1960

FRONT BRACKET ASS'Y

SN: 55458-77387

1шт.

18

KD7-21351-0950

METAL

SN: 55458-77387

1шт.

19

KD1-21500-1610

CLUTCH ASS'Y,OVER RUNNING

SN: 55458-77387

1шт.

20

KD7-21351-0250

METAL

SN: 55458-77387

2шт.

21

KD1-21600-1460

CENTER BRACKET A.

SN: 55458-77387

1шт.

22

KD7-21351-0960

METAL

SN: 55458-77387

1шт.

23

KD0-21901-1670

BOLT

SN: 55458-77387

2шт.

24

KD1-21181-0310

STOPPER,PINION

SN: 55458-77387

1шт.

25

KD1-21100-1190

ARMATURE ASS'Y

SN: 55458-77387

1шт.

26

KD7-21230-0080

FIELD COIL ASS'Y

SN: 55458-77387

1шт.

27

KD7-21920-0080

WASHER ASS'Y,(NOT SHOWN)

SN: 55458-77387

1шт.

28

KD7-09210-0140

SEAL KIT,(NOT SHOWN)

SN: 55458-77387

1шт.

Выбрано товаров: 0