Запчасти Komatsu 6D105-1V СТАРТЕР (.KW)(№7788-) ОХЛАЖД-Е И ЭЛЕКТРИКАS

Схема запчастей Komatsu 6D105-1V - СТАРТЕР (.KW)(№7788-) ОХЛАЖД-Е И ЭЛЕКТРИКАS
FIT
1:1
100%

Артикул

Название

Примечание

Количество

|1

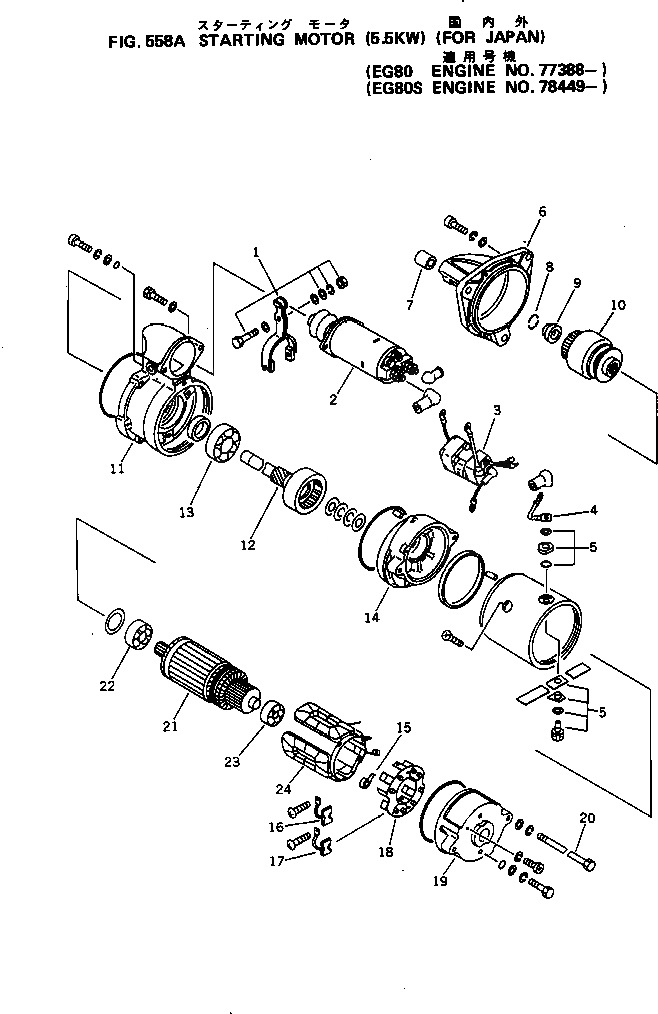
600-813-3280

STARTING MOTOR ASS'Y,(5.5KW)

SN: 77388-UP

1шт.

1

KD1-23320-0170

SHIFT LEVER ASS'Y

SN: 77388-UP

1шт.

2

KD0-47100-3510

MAGNETIC SWITCH A.

SN: 77388-UP

1шт.

3

KD1-25000-6081

SWITCH

SN: 77388-UP

1шт.

4

KD1-23785-0100

LEAD WIRE ASS'Y

SN: 77388-UP

1шт.

5

KD7-23780-0040

TERMINAL ASS'Y

SN: 77388-UP

1шт.

6

KD1-23310-0510

FRONT BRACKET ASS'Y

SN: 77388-UP

1шт.

7

KD7-23351-0140

METAL

SN: 77388-UP

1шт.

8

KD1-23914-0030

RING,CLIP

SN: 77388-UP

2шт.

9

KD1-23181-0030

STOPPER,PINION

SN: 77388-UP

1шт.

10

KD1-23500-0250

CLUTCH ASS'Y,OVER RUNNING

SN: 77388-UP

1шт.

11

KD1-23600-0160

CENTER BRACKET A.

SN: 77388-UP

1шт.

12

KD7-23120-0270

SHAFT ASS'Y

SN: 77388-UP

1шт.

13

KD1-0454-60057

BEARING,BALL

SN: 77388-UP

1шт.

14

KD0-23611-0430

BRACKET

SN: 77388-UP

1шт.

|15

KD7-23700-0600

REAR BRACKET ASS'Y

SN: 77388-UP

1шт.

15

KD1-23913-0010

SPRING,BRUSH

SN: 77388-UP

4шт.

16

KD1-23740-0170

BRUSH (+)

SN: 77388-UP

2шт.

17

KD0-23740-0180

BRUSH (-)

SN: 77388-UP

2шт.

18

KD0-23750-0120

BRUSH HOLDER A.

SN: 77388-UP

1шт.

19

KD0-23711-0170

BRACKET,REAR

SN: 77388-UP

1шт.

20

KD1-23901-0080

BOLT

SN: 77388-UP

2шт.

21

KD7-23100-0220

ARMATURE ASS'Y

SN: 77388-UP

1шт.

22

KD1-0454-60047

BEARING,BALL

SN: 77388-UP

1шт.

23

KD1-0454-62007

BEARING,BALL

SN: 77388-UP

1шт.

24

KD0-23230-0210

FIELD COIL ASS'Y

SN: 77388-UP

1шт.

25

KD7-23920-0270

WASHER ASS'Y,(NOT SHOWN)

SN: 77388-UP

1шт.

26

KD7-09210-1330

SEAL ASS'Y,(NOT SHOWN)

SN: 77388-UP

1шт.

Выбрано товаров: 28