Запчасти Komatsu 6D105-1V БЛОК ЦИЛИНДРОВ БЛОК ЦИЛИНДРОВ

Схема запчастей Komatsu 6D105-1V - БЛОК ЦИЛИНДРОВ БЛОК ЦИЛИНДРОВ
FIT
1:1
100%

Артикул

Название

Примечание

Количество

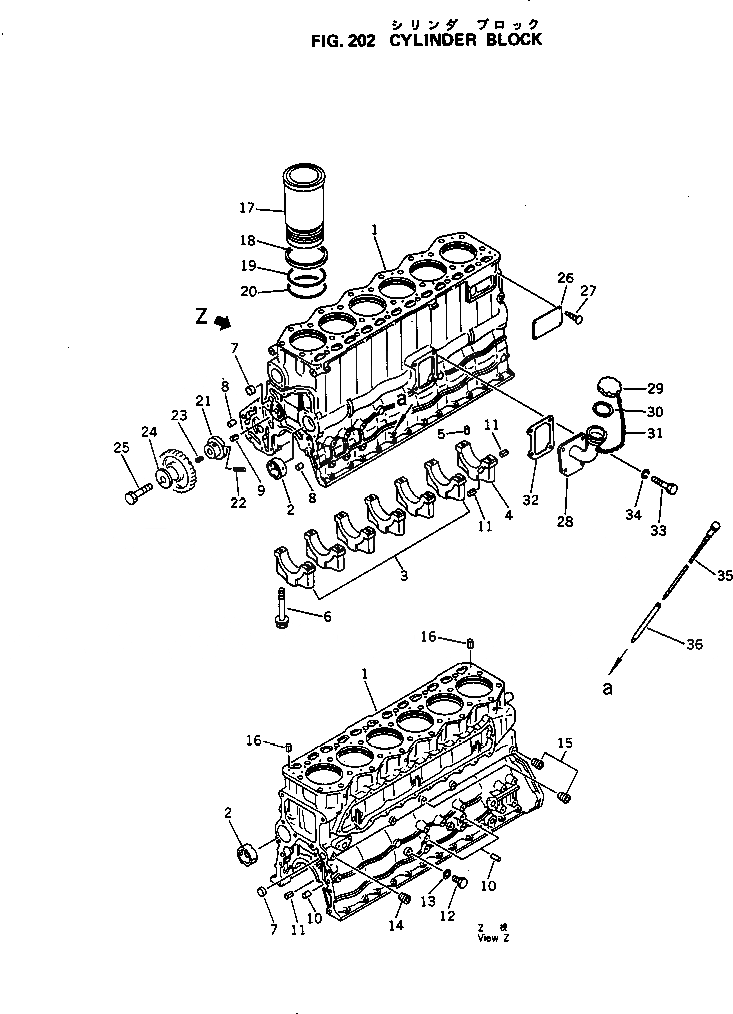
|$0

6136-22-1020

CYLINDER BLOCK ASS'Y

SN: 55458-UP

1шт.

|$1

6136-22-1101

CYLINDER BLOCK A.

SN: 55458-UP

1шт.

1

0

BLOCK,CYLINDER

SN: 55458-UP

1шт.

2

6136-21-1410

BUSHING,CAMSHAFT

SN: 55458-UP

4шт.

3

0

CAP,MAIN METAL

SN: 55458-UP

6шт.

4

0

CAP,MAIN METAL

SN: 55458-UP

1шт.

5

04020-00514

PIN,DOWEL

SN: 55458-UP

1шт.

6

6136-22-1710

BOLT

SN: 55458-UP

14шт.

7

6130-11-1420

PLUG,EXPANSION

SN: 55458-UP

2шт.

8

6136-21-1911

PIN,DOWEL

SN: 55458-UP

2шт.

9

04025-00512

PIN,SPRING

SN: 55458-UP

1шт.

10

04020-01228

PIN,DOWEL

SN: 55458-UP

4шт.

11

04025-00408

PIN,SPRING

SN: 55458-UP

6шт.

12

07040-11209

PLUG

SN: 55458-UP

1шт.

13

07005-01212

GASKET (K2)

SN: 55458-UP

1шт.

14

07043-50211

PLUG

SN: 55458-UP

2шт.

15

07043-50108

PLUG

SN: 55458-UP

3шт.

16

04025-00820

PIN,SPRING

SN: 55458-UP

2шт.

17

6136-21-2210

LINER,CYLINDER

SN: 55458-UP

6шт.

18

6136-21-2220

SEAL,CREVICE (K2)

SN: 55458-UP

6шт.

19

6136-21-2230

O-RING,UPPER (K2)

SN: 55458-UP

6шт.

20

6136-21-2240

O-RING,LOWER (K2)

SN: 55458-UP

6шт.

21

6136-21-2410

SHAFT,IDLER

SN: 55458-UP

1шт.

22

04025-00316

PIN,SPRING

SN: 55458-UP

1шт.

23

04025-00512

PIN,SPRING

SN: 55458-UP

1шт.

24

6136-21-2420

PLATE

SN: 55458-UP

1шт.

25

01010-31275

BOLT

SN: 55458-UP

1шт.

26

09605-01332

PLATE, NAME,(LIMITED SUPPLY)

SN: 55458-UP

1шт.

27

04418-02550

SCREW

SN: 55458-UP

4шт.

|$29

6136-21-7100

OIL FILLER ASS'Y

SN: 55458-UP

1шт.

28

6136-21-7111

FILLER,OIL

SN: 55458-UP

1шт.

29

6136-21-7120

CAP ASS'Y

SN: 55458-UP

1шт.

30

6136-21-7180

GASKET

SN: 55458-UP

1шт.

31

6136-21-7190

CHAIN

SN: 55458-UP

1шт.

32

6136-21-7811

GASKET (K2)

SN: 55458-UP

1шт.

33

01010-31030

BOLT

SN: 55458-UP

4шт.

34

01602-01030

WASHER,SPRING

SN: 55458-UP

4шт.

35

6136-21-5310

GAUGE,OIL

SN: 55458-UP

1шт.

36

6136-21-5410

GUIDE,OIL GAUGE

SN: 55458-UP

1шт.

Выбрано товаров: 39