Запчасти Komatsu 6D105-1V АНТИКОРРОЗ. ЭЛЕМЕНТ ОХЛАЖД-Е И ЭЛЕКТРИКАS

Схема запчастей Komatsu 6D105-1V - АНТИКОРРОЗ. ЭЛЕМЕНТ ОХЛАЖД-Е И ЭЛЕКТРИКАS
FIT
1:1
100%

Артикул

Название

Примечание

Количество

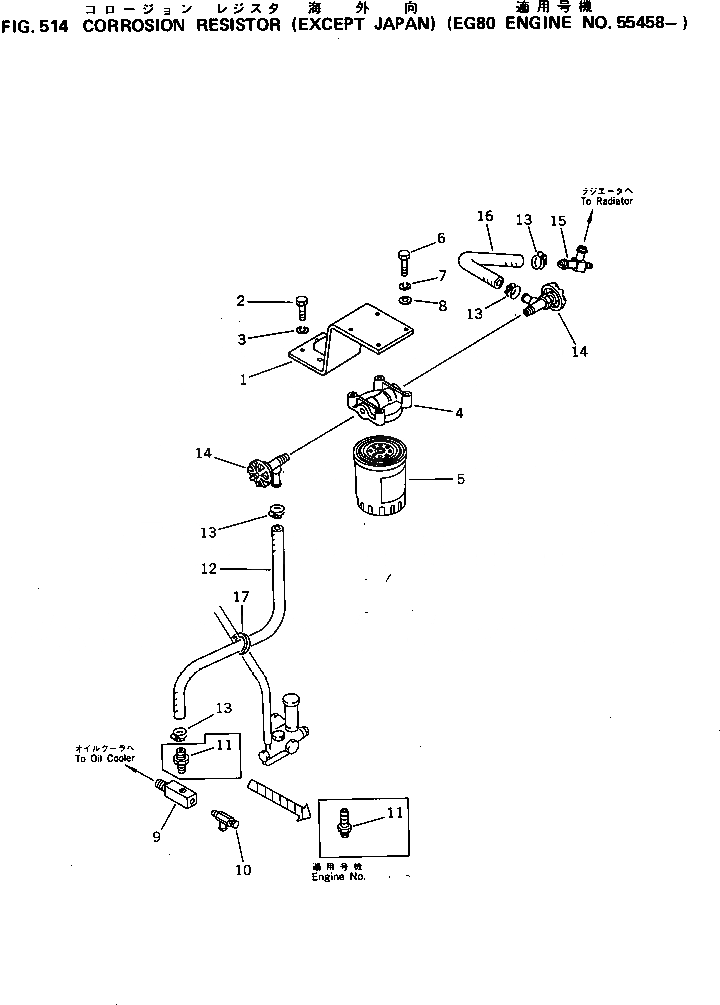
1

6136-61-8130

BRACKET

SN: 55458-UP

1шт.

2

01010-31025

BOLT

SN: 55458-UP

4шт.

3

01602-01030

WASHER,SPRING

SN: 55458-UP

4шт.

|$3

6134-61-8102

RESISTOR ASS'Y,CORROSION

SN: .-UP

1шт.

|$4

0

RESISTOR ASS'Y,CORROSION

SN: 55458-.

1шт.

4

6150-61-8211

HEAD

SN: .-UP

1шт.

4

0

HEAD

SN: 55458-.

1шт.

5

600-411-1140

CARTRIDGE

SN: .-UP

1шт.

5

0

CARTRIDGE

SN: 55458-.

1шт.

6

02010-70632

BOLT

SN: 55458-UP

4шт.

7

01602-00929

WASHER,SPRING

SN: 55458-UP

4шт.

8

01642-21016

WASHER

SN: 55458-UP

4шт.

9

6136-61-8670

NIPPLE

SN: 55458-UP

1шт.

10

6140-61-6512

VALVE,DRAIN

SN: 55458-UP

1шт.

11

6136-61-8720

CONNECTOR

SN: .-UP

1шт.

11

0

CONNECTOR

SN: 55458-.

1шт.

12

07260-20963

HOSE

SN: 55458-UP

1шт.

13

07281-00197

CLAMP

SN: 55458-UP

4шт.

14

6150-61-8410

VALVE

SN: .-UP

2шт.

14

0

VALVE

SN: 55458-.

2шт.

15

6136-61-8650

ELBOW

SN: 55458-UP

1шт.

16

07260-20928

HOSE

SN: 55458-UP

1шт.

17

08034-00519

BAND

SN: 55458-UP

1шт.

Выбрано товаров: 23