Запчасти Komatsu 6D105-1W МАСЛЯНЫЙ ПОДДОН(№-) БЛОК ЦИЛИНДРОВ

Схема запчастей Komatsu 6D105-1W - МАСЛЯНЫЙ ПОДДОН(№-) БЛОК ЦИЛИНДРОВ
FIT
1:1
100%

Артикул

Название

Примечание

Количество

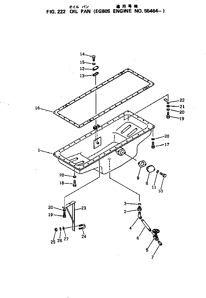
1

6136-21-5122

PAN,OIL

SN: 55464-UP

1шт.

2

6967-82-3210

PLUG,DRAIN

SN: 55464-UP

1шт.

3

07000-03022

O-RING (K2)

SN: 55464-UP

1шт.

4

07323-20400

ELBOW

SN: 55464-UP

1шт.

5

6967-82-3230

VALVE

SN: 55464-UP

1шт.

6

6993-81-3420

PIPE

SN: 55464-UP

1шт.

7

6993-81-3430

PIPE

SN: 55464-UP

1шт.

8

6136-21-5710

PLATE

SN: 55464-UP

1шт.

9

6110-61-6811

GASKET (K2)

SN: 55464-UP

1шт.

10

01010-31025

BOLT

SN: 55464-UP

2шт.

11

01602-01030

WASHER,SPRING

SN: 55464-UP

2шт.

12

6136-21-5720

COVER

SN: 55464-UP

1шт.

13

6110-23-5150

GASKET (K2)

SN: 55464-UP

1шт.

14

01010-30825

BOLT

SN: 55464-UP

2шт.

15

01602-00825

WASHER,SPRING

SN: 55464-UP

2шт.

16

6136-21-5810

GASKET (K2)

SN: 55464-UP

1шт.

17

01010-30822

BOLT

SN: 55464-UP

27шт.

18

01010-30825

BOLT

SN: 55464-UP

8шт.

19

01010-30830

BOLT

SN: 55464-UP

3шт.

20

01602-00825

WASHER,SPRING

SN: 55464-UP

38шт.

21

01640-00816

WASHER

SN: 55464-UP

1шт.

22

6130-22-5290

CLIP

SN: 55464-UP

1шт.

23

6993-81-3410

BRACKET

SN: 55464-UP

1шт.

24

07283-22236

CLIP

SN: 55464-UP

1шт.

25

01582-01008

NUT

SN: 55464-UP

2шт.

26

01602-01030

WASHER,SPRING

SN: 55464-UP

2шт.

27

01642-01016

WASHER

SN: 55464-UP

2шт.

Выбрано товаров: 27