Запчасти Komatsu 6D125-1AF БЛОК ЦИЛИНДРОВ COVER БЛОК ЦИЛИНДРОВ

Схема запчастей Komatsu 6D125-1AF - БЛОК ЦИЛИНДРОВ COVER БЛОК ЦИЛИНДРОВ
FIT
1:1
100%

Артикул

Название

Примечание

Количество

|1

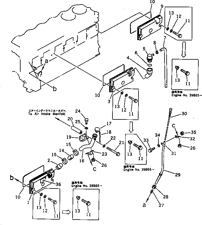
6150-21-6500

COVER ASS'Y

SN: 24586-UP

1шт.

1

0

COVER

SN: 24586-UP

1шт.

2

0

TUBE

SN: 24586-UP

1шт.

|3

6150-21-6601

COVER ASS'Y

SN: 24586-UP

1шт.

3

0

COVER

SN: 24586-UP

1шт.

4

0

CONNECTOR

SN: 24586-UP

1шт.

5

6150-21-6710

BREATHER

SN: 24586-UP

1шт.

6

6114-21-5190

O-RING (K2)

SN: 24586-UP

1шт.

7

07286-01963

HOSE

SN: 24586-UP

1шт.

8

07285-00220

CLIP

SN: 24586-UP

1шт.

9

6150-21-6310

COVER

SN: 24586-UP

1шт.

10

6150-21-6450

GASKET (K2)

SN: 41707-UP

3шт.

|10

0

O-RING (K2)

SN: 24586-41706

3шт.

11

6210-21-6471

BOLT

SN: 39865-UP

9шт.

|11

0

BOLT

SN: 24586-39864

9шт.

|$$16

(6210-21-6471{6150-21-6390)}

-1шт.

12

6136-11-8130

WASHER

SN: 24586-39864

9шт.

13

6150-21-6390

PACKING (K2)

SN: 39865-UP

9шт.

|13

0

PACKING (K2)

SN: 24586-39864

9шт.

14

6150-21-6530

HOSE

SN: 24586-UP

1шт.

15

07281-00609

CLAMP

SN: 24586-UP

2шт.

16

6150-21-7110

FILLER

SN: 24586-UP

1шт.

17

6136-21-7120

CAP ASS'Y

SN: 24586-UP

1шт.

|17

6136-21-7180

GASKET,(NOT SHOWN)

SN: 24586-UP

1шт.

18

6136-21-7190

CHAIN

SN: 24586-UP

1шт.

19

6150-21-6540

BRACKET

SN: 24586-UP

1шт.

20

6136-11-5120

SPACER

SN: 24586-UP

2шт.

21

01011-51000

BOLT

SN: 24586-UP

2шт.

22

01640-21016

WASHER

SN: 24586-39864

2шт.

23

6150-21-6570

CLAMP

SN: 39865-UP

1шт.

|23

0

CLAMP

SN: 24586-39864

1шт.

24

01010-51025

BOLT

SN: 24586-UP

2шт.

25

01642-21016

WASHER

SN: 24586-UP

2шт.

26

01580-11008

NUT

SN: 24586-UP

2шт.

27

6150-21-5920

COLLAR

SN: 24586-UP

1шт.

28

6150-21-5930

NUT

SN: 24586-UP

1шт.

29

6150-21-5450

GUIDE

SN: 24586-UP

1шт.

30

6150-21-5331

GAUGE,LEVEL

SN: 24586-UP

1шт.

31

6144-21-5650

CLIP

SN: 24586-UP

1шт.

32

6150-21-5720

BRACKET

SN: 24586-UP

1шт.

33

01010-50816

BOLT

SN: 24586-UP

1шт.

34

01642-20810

WASHER

SN: 24586-UP

1шт.

35

01580-10806

NUT

SN: 24586-UP

1шт.

Выбрано товаров: 43