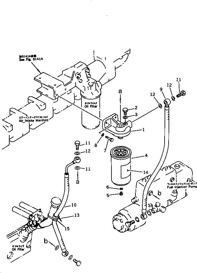
Запчасти Komatsu 6D125-1AF ТОПЛИВН. ФИЛЬТР. И ТРУБЫ(№7-) ТОПЛИВН. СИСТЕМА

Схема запчастей Komatsu 6D125-1AF - ТОПЛИВН. ФИЛЬТР. И ТРУБЫ(№7-) ТОПЛИВН. СИСТЕМА
FIT
1:1
100%

Артикул

Название

Примечание

Количество

|1

6138-71-6100

FUEL FILTER ASS'Y

SN: 24586-UP

1шт.

1

6138-71-6110

BRACKET

SN: 24586-UP

1шт.

2

6110-73-6231

PLUG

SN: 24586-UP

1шт.

3

07005-00812

GASKET

SN: 24586-UP

1шт.

4

600-311-8291

CARTRIDGE

SN: 24586-UP

1шт.

5

6110-73-6231

PLUG

SN: 24586-UP

1шт.

6

07005-00812

GASKET

SN: 24586-UP

1шт.

7

01010-51030

BOLT

SN: 24586-UP

2шт.

8

01640-21016

WASHER

SN: 24586-UP

2шт.

9

07271-01465

HOSE

SN: 24586-UP

1шт.

10

6150-71-6310

HOSE

SN: 24586-UP

1шт.

11

07206-31014

BOLT,BOLT

SN: 24586-UP

2шт.

12

07005-01412

GASKET (K2)

SN: 24586-UP

4шт.

13

08034-00823

BAND

SN: 41725-UP

1шт.

14

600-311-8612

PLATE¤ CAUTION,(ENGLISH)

SN: 24586-UP

1шт.

15

205-62-72140

COVER

SN: 41725-UP

1шт.

Выбрано товаров: 16