Запчасти Komatsu 6D125-1AF ГЛУШИТЕЛЬ И КРЕПЛЕНИЕ ГОЛОВКА ЦИЛИНДРОВ

Схема запчастей Komatsu 6D125-1AF - ГЛУШИТЕЛЬ И КРЕПЛЕНИЕ ГОЛОВКА ЦИЛИНДРОВ
FIT
1:1
100%

Артикул

Название

Примечание

Количество

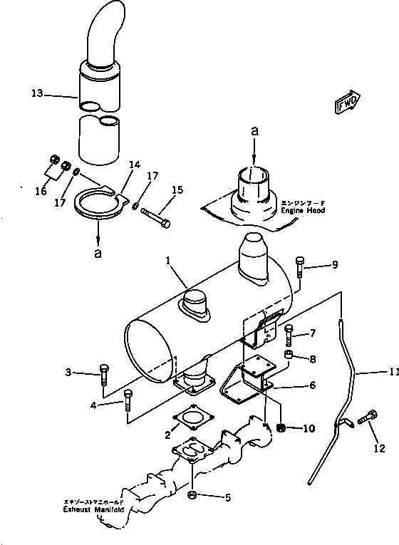
1

6150-11-5512

MUFFLER

SN: 24586-UP

1шт.

|1

0

MUFFLER

SN: (24586-40754)

1шт.

2

6150-11-5710

GASKET (K1)

SN: 24586-UP

1шт.

3

01010-61030

BOLT

SN: 24586-UP

2шт.

4

01050-61045

BOLT

SN: 24586-UP

2шт.

5

6114-11-5590

NUT

SN: 24586-UP

2шт.

6

6150-11-5720

BRACKET

SN: 24586-UP

1шт.

7

01010-31040

BOLT

SN: 24586-UP

4шт.

8

6631-11-5630

SPACER

SN: 24586-UP

4шт.

9

01010-31025

BOLT

SN: 24586-UP

4шт.

10

01580-01008

NUT

SN: 24586-UP

4шт.

11

6150-11-5561

TUBE

SN: 24586-UP

1шт.

12

01010-51040

BOLT,(SEE FIG.0501)

SN: 24586-UP

1шт.

13

6631-11-5780

PIPE,EXHAUST

SN: 24586-UP

1шт.

14

6693-12-5540

CLAMP

SN: 24586-UP

1шт.

15

6693-12-5550

BOLT

SN: 24586-UP

1шт.

16

01582-01411

NUT

SN: 24586-UP

2шт.

17

01641-21423

WASHER

SN: 24586-UP

2шт.

Выбрано товаров: 18