Запчасти Komatsu 6D125-1EE МАСЛЯНЫЙ ПОДДОН БЛОК ЦИЛИНДРОВ

Схема запчастей Komatsu 6D125-1EE - МАСЛЯНЫЙ ПОДДОН БЛОК ЦИЛИНДРОВ
FIT
1:1
100%

Артикул

Название

Примечание

Количество

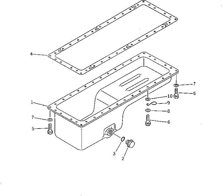
1

6150-21-5110

PAN,OIL

SN: 21811-UP

1шт.

2

6150-21-5620

PLUG,DRAIN

SN: 21811-UP

1шт.

3

07002-03634

O-RING (K2)

SN: 21811-UP

1шт.

4

6150-21-5811

GASKET (K2)

SN: 23346-UP

1шт.

|4

6150-21-5811

GASKET

SN: 23133-23345

1шт.

|4

0

GASKET (K2)

SN: 21811-23132

1шт.

5

01010-51025

BOLT

SN: 21811-UP

29шт.

6

01010-51030

BOLT

SN: 21811-UP

7шт.

7

01640-21016

WASHER

SN: 21811-UP

35шт.

8

01640-21016

WASHER

SN: 36053-UP

1шт.

|8

01643-31032

WASHER

SN: 21811-36052

1шт.

9

6130-22-5290

CLIP

SN: 21811-UP

1шт.

10

01643-31032

WASHER

SN: 36053-UP

1шт.

Выбрано товаров: 13