Запчасти Komatsu 6D125-1EE ГОЛОВКА ЦИЛИНДРОВ(№98-) ГОЛОВКА ЦИЛИНДРОВ

Схема запчастей Komatsu 6D125-1EE - ГОЛОВКА ЦИЛИНДРОВ(№98-) ГОЛОВКА ЦИЛИНДРОВ
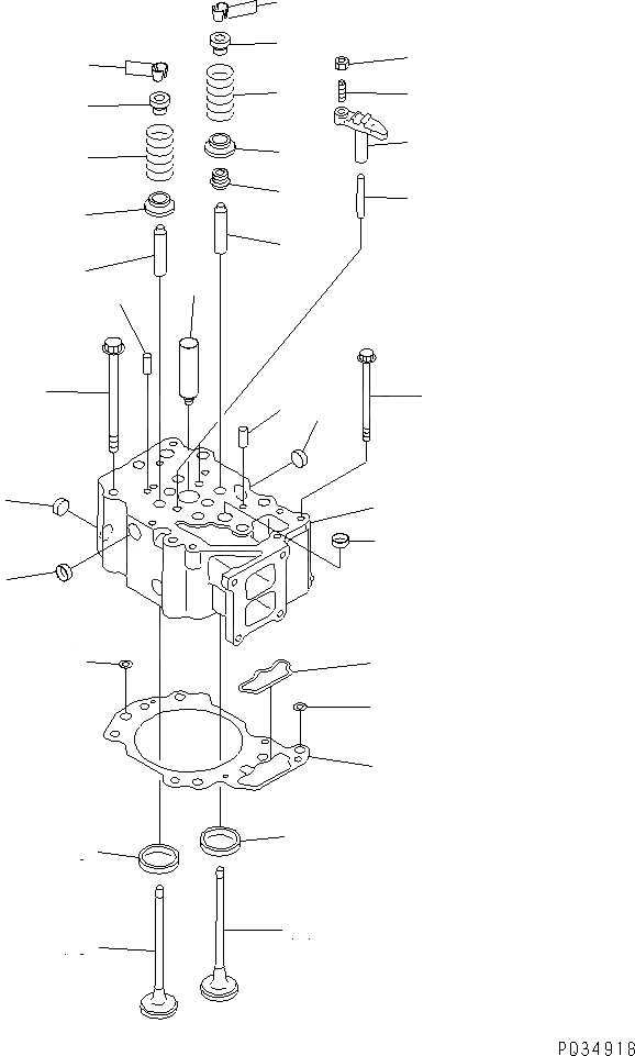
1
2
3
4
5
6
7
8
8
8
8
9
9
10
11
12
13
13
14
14
15
15
16
16
17
18
19
20
21
22
23
24
25
FIT
1:1
100%

Артикул

Название

Примечание

Количество

|1

6150-11-1100

CYLINDER HEAD ASS'Y,VALVE LESS

SN: 21811-UP

6шт.

1

0

HEAD,CYLINDER

SN: 21811-UP

1шт.

2

6136-11-1130

SLEEVE

SN: 21811-UP

1шт.

3

6150-11-1331

INSERT,INTAKE VALVE (STD)

SN: 21811-UP

2шт.

|3

6150-19-1331

INSERT¤ 0.25MM,INTAKE VALVE (OS)

SN: 21811-UP

2шт.

|3

6150-18-1331

INSERT¤ 0.50MM,INTAKE VALVE (OS)

SN: 21811-UP

2шт.

|3

6150-17-1331

INSERT¤ 0.75MM,INTAKE VALVE (OS)

SN: 21811-UP

2шт.

|3

6150-16-1331

INSERT¤ 1.00MM,INTAKE VALVE (OS)

SN: 21811-UP

2шт.

4

6150-11-1320

INSERT,EXHAUST VALVE (STD)

SN: 21811-UP

2шт.

|4

6150-19-1320

INSERT¤ 0.25MM,EXHAUST VALVE (OS)

SN: 21811-UP

2шт.

|4

6150-18-1320

INSERT¤ 0.50MM,EXHAUST VALVE (OS)

SN: 21811-UP

2шт.

|4

6150-17-1320

INSERT¤ 0.75MM,EXHAUST VALVE (OS)

SN: 21811-UP

2шт.

|4

6150-16-1320

INSERT¤ 1.00MM,EXHAUST VALVE (OS)

SN: 21811-UP

2шт.

5

6150-12-1341

GUIDE,INTAKE VALVE

SN: 21811-UP

2шт.

6

6150-12-1351

GUIDE,EXHAUST VALVE

SN: 21811-UP

2шт.

7

6150-11-1140

GUIDE

SN: 21811-UP

2шт.

8

6162-13-1150

PLUG

SN: 21811-UP

8шт.

9

04020-00820

PIN,DOWEL

SN: 21811-UP

2шт.

10

6150-41-4111

VALVE,INTAKE

SN: 43304-UP

12шт.

|10

0

VALVE,INTAKE

SN: 21811-43303

12шт.

11

6150-41-4210

VALVE,EXHAUST

SN: 21811-UP

12шт.

12

6140-41-4540

SEAL,EXHAUST VALVE (K1)

SN: 21811-UP

12шт.

13

6150-41-4430

SEAT,LOWER

SN: 21811-UP

24шт.

14

6150-41-4510

SEAT,UPPER

SN: 21811-UP

24шт.

15

6136-42-4520

COTTER

SN: 21811-UP

48шт.

16

6150-41-4411

SPRING,VALVE

SN: 21811-UP

24шт.

17

6150-41-5611

CROSSHEAD

SN: 21811-UP

12шт.

18

6150-41-5620

SCREW

SN: 21811-UP

12шт.

19

6150-41-5630

NUT

SN: 21811-UP

12шт.

20

6150-17-1812

GASKET,HEAD (K1)

SN: 26698-UP

6шт.

21

6150-11-1920

GROMMET,OIL

SN: 26698-UP

1шт.

22

6150-11-1930

GROMMET,OIL

SN: 26698-UP

1шт.

23

6150-11-1940

GROMMET,WATER

SN: 26698-UP

4шт.

24

6150-11-1610

BOLT

SN: 21811-UP

36шт.

25

6150-81-9160

BOLT

SN: 21811-UP

6шт.

Выбрано товаров: 35