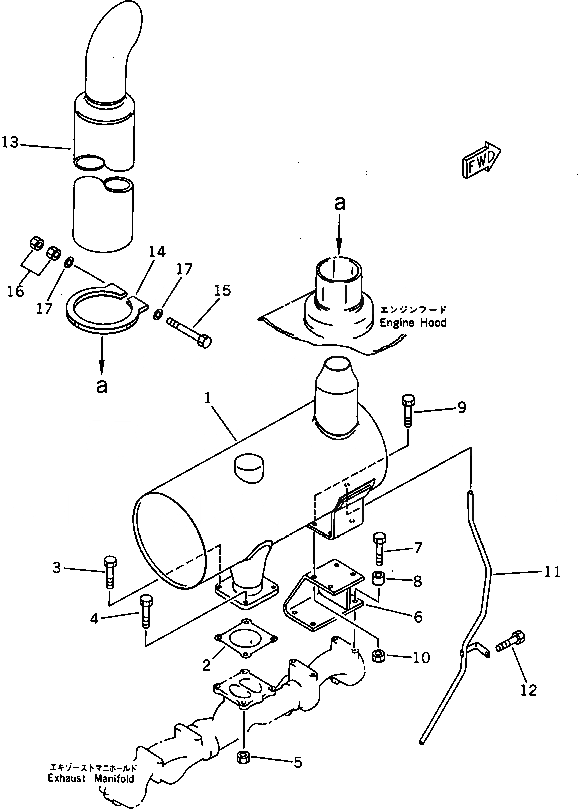
Запчасти Komatsu 6D125-1EE ГЛУШИТЕЛЬ И КРЕПЛЕНИЕ ГОЛОВКА ЦИЛИНДРОВ

Схема запчастей Komatsu 6D125-1EE - ГЛУШИТЕЛЬ И КРЕПЛЕНИЕ ГОЛОВКА ЦИЛИНДРОВ
FIT
1:1
100%

Артикул

Название

Примечание

Количество

1

6150-11-5910

MUFFLER

SN: 28457-UP

1шт.

|1

0

MUFFLER

SN: 21924-28456

1шт.

|$$3

(6150-11-5910{6150-11-5430¤}

-1шт.

|$$4

6150-11-5570)

-1шт.

|1

0

MUFFLER

SN: 21811-21923

1шт.

2

6150-11-5710

GASKET (K1)

SN: 21811-UP

1шт.

3

01010-61030

BOLT

SN: 21811-UP

2шт.

4

01050-61045

BOLT

SN: 21811-UP

2шт.

5

6114-11-5590

NUT

SN: 21811-UP

2шт.

6

6150-11-5430

BRACKET

SN: 28457-UP

1шт.

|6

0

BRACKET

SN: 21811-28456

1шт.

|$$12

(6150-11-5910{6150-11-5430¤}

-1шт.

|$$13

6150-11-5570)

-1шт.

7

01010-31040

BOLT

SN: 21811-UP

4шт.

8

6631-11-5630

SPACER

SN: 21811-UP

4шт.

9

01010-31025

BOLT

SN: 21811-UP

4шт.

10

01580-01008

NUT

SN: 21811-UP

4шт.

11

6150-11-5570

TUBE,DRAIN

SN: 28457-UP

1шт.

|11

6150-11-5561

TUBE,DRAIN

SN: 21811-28456

1шт.

12

01010-51035

BOLT

SN: 21811-UP

1шт.

13

6151-11-5590

PIPE,EXHAUST

SN: 21811-UP

1шт.

14

6138-11-5620

CLAMP

SN: 21811-UP

1шт.

15

6693-12-5550

BOLT

SN: 21811-UP

1шт.

16

01582-01411

NUT

SN: 21811-UP

2шт.

17

6151-11-5670

WASHER

SN: 21811-UP

2шт.

Выбрано товаров: 25