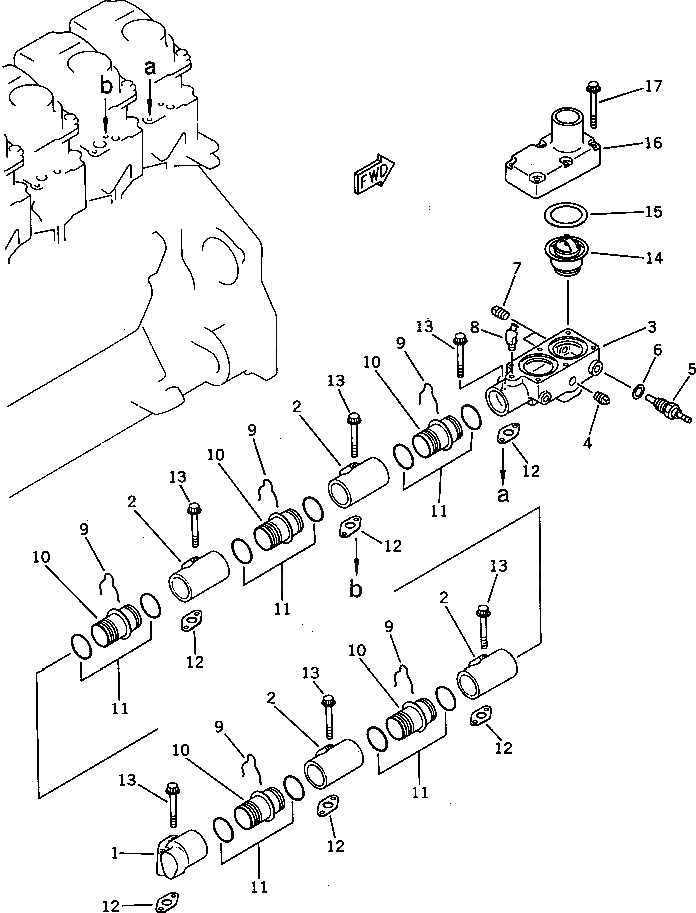
Запчасти Komatsu 6D125-1G ВОДЯНОЙ КОЛЛЕКТОР И ТЕРМОСТАТ(№-899) ГОЛОВКА ЦИЛИНДРОВ

Схема запчастей Komatsu 6D125-1G - ВОДЯНОЙ КОЛЛЕКТОР И ТЕРМОСТАТ(№-899) ГОЛОВКА ЦИЛИНДРОВ
FIT
1:1
100%

Артикул

Название

Примечание

Количество

1

6150-11-6120

MANIFOLD,WATER

SN: 10001-@

1шт.

2

6150-11-6110

MANIFOLD,WATER

SN: 10001-18199

4шт.

3

6150-11-6410

HOUSING

SN: 10001-@

1шт.

4

07042-00415

PLUG

SN: 10001-@

1шт.

5

08620-00000

SENSOR,THERMO

SN: 10001-@

1шт.

6

07005-01612

GASKET (K1)

SN: 10001-@

1шт.

7

07042-00312

PLUG

SN: 10001-@

2шт.

8

6136-61-8640

NIPPLE

SN: 10001-@

1шт.

9

6150-11-6280

SPRING

SN: 10001-18199

5шт.

10

6150-11-6210

TUBE

SN: 10001-18199

5шт.

11

02893-05043

O-RING (K1)

SN: 10001-18199

10шт.

12

6150-11-6310

GASKET (K1)

SN: 10001-@

6шт.

13

6150-81-9190

BOLT

SN: 10001-@

12шт.

14

600-421-6310

THERMOSTAT

SN: 10001-@

2шт.

15

6138-11-6810

GASKET (K1)

SN: 10001-@

2шт.

16

6150-11-6510

COVER

SN: 10001-@

1шт.

17

6150-81-9180

BOLT

SN: 10001-@

6шт.

Выбрано товаров: 17