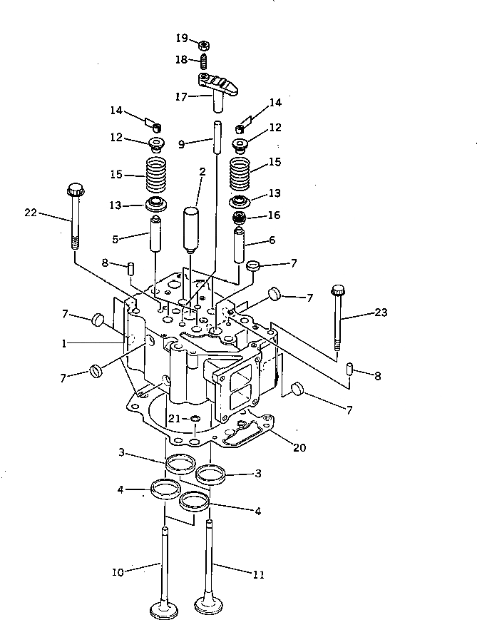
Запчасти Komatsu 6D125-1J ГОЛОВКА ЦИЛИНДРОВ ГОЛОВКА ЦИЛИНДРОВ

Схема запчастей Komatsu 6D125-1J - ГОЛОВКА ЦИЛИНДРОВ ГОЛОВКА ЦИЛИНДРОВ
FIT
1:1
100%

Артикул

Название

Примечание

Количество

|1

6150-11-1100

CYLINDER HEAD ASS'Y,VALVE LESS

SN: 10001-UP

6шт.

1

0

HEAD,CYLINDER

SN: 10001-UP

1шт.

2

6136-11-1130

SLEEVE

SN: 10001-UP

1шт.

3

6150-11-1320

INSERT,EXHAUST VALVE (STD)

SN: 10001-UP

2шт.

|3

6150-19-1320

INSERT¤ 0.25MM,EXHAUST VALVE (OS)

SN: 10001-UP

2шт.

|3

6150-18-1320

INSERT¤ 0.50MM,EXHAUST VALVE (OS)

SN: 10001-UP

2шт.

|3

6150-17-1320

INSERT¤ 0.75MM,EXHAUST VALVE (OS)

SN: 10001-UP

2шт.

|3

6150-16-1320

INSERT¤ 1.00MM,EXHAUST VALVE (OS)

SN: 10001-UP

2шт.

4

6150-11-1331

INSERT,INTAKE VALVE (STD)

SN: 10001-UP

2шт.

|4

6150-19-1331

INSERT¤ 0.25MM,INTAKE VALVE (OS)

SN: 10001-UP

2шт.

|4

6150-18-1331

INSERT¤ 0.50MM,INTAKE VALVE (OS)

SN: 10001-UP

2шт.

|4

6150-17-1331

INSERT¤ 0.75MM,INTAKE VALVE (OS)

SN: 10001-UP

2шт.

|4

6150-16-1331

INSERT¤ 1.00MM,INTAKE VALVE (OS)

SN: 10001-UP

2шт.

5

6150-12-1341

GUIDE,INTAKE VALVE

SN: 10001-UP

2шт.

6

6150-12-1351

GUIDE,EXHAUST VALVE

SN: 10001-UP

2шт.

7

6162-13-1150

PLUG

SN: 10001-UP

8шт.

8

04020-00820

PIN,DOWEL

SN: 10001-UP

2шт.

9

6150-11-1140

GUIDE

SN: 10001-UP

2шт.

10

6150-41-4120

VALVE,INTAKE

SN: 20075-UP

12шт.

|10

0

VALVE,INTAKE

SN: 10001-20074

12шт.

11

6150-41-4210

VALVE,EXHAUST

SN: 10001-UP

12шт.

12

6150-41-4510

SEAT,UPPER

SN: 10001-UP

24шт.

13

6150-41-4430

SEAT,LOWER

SN: 10001-UP

24шт.

14

6136-42-4520

COTTER

SN: 10001-UP

48шт.

15

6150-41-4411

SPRING,VALVE

SN: 10001-UP

24шт.

16

6140-41-4540

SEAL,EXHAUST VALVE (K1)

SN: 10001-UP

12шт.

17

6150-41-5611

CROSSHEAD

SN: 10296-UP

12шт.

|17

6150-41-5610

CROSSHEAD

SN: 10001-10295

12шт.

18

6150-41-5620

SCREW

SN: 10296-UP

12шт.

|18

6610-41-5620

SCREW

SN: 10001-10295

12шт.

19

6150-41-5630

NUT

SN: 10296-UP

12шт.

|19

6710-41-5630

NUT

SN: 10001-10295

12шт.

20

6150-11-1810

GASKET,HEAD (K1)

SN: 10001-UP

6шт.

21

6610-11-1820

GROMMET

SN: 10001-UP

4шт.

22

6150-11-1610

BOLT

SN: 10001-UP

36шт.

23

6150-81-9160

BOLT

SN: 10001-UP

6шт.

Выбрано товаров: 36