Запчасти Komatsu 6D125-1K МАСЛЯНЫЙ ПОДДОН БЛОК ЦИЛИНДРОВ

Схема запчастей Komatsu 6D125-1K - МАСЛЯНЫЙ ПОДДОН БЛОК ЦИЛИНДРОВ
FIT
1:1
100%

Артикул

Название

Примечание

Количество

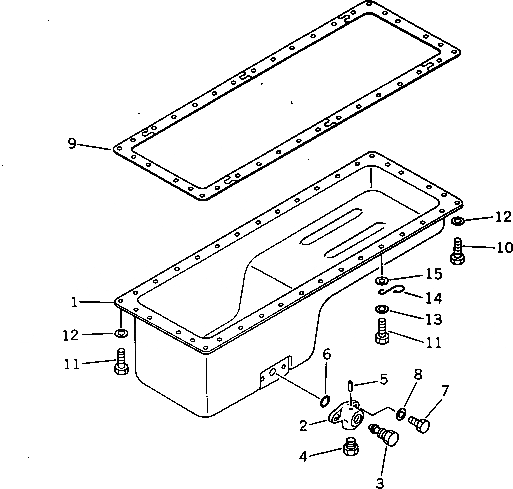
1

6150-21-5120

PAN,OIL

SN: 10001-UP

1шт.

|2

6693-22-5600

VALVE ASS'Y

SN: 10001-UP

1шт.

2

0

BODY

SN: 10001-UP

1шт.

3

0

VALVE

SN: 10001-UP

1шт.

4

07040-02412

PLUG

SN: 10001-UP

1шт.

5

04020-00514

PIN,DOWEL

SN: 10001-UP

1шт.

6

07000-63028

O-RING (K2)

SN: 10001-UP

1шт.

7

01010-51025

BOLT

SN: 10001-UP

2шт.

8

01640-21016

WASHER

SN: 10001-UP

2шт.

9

6150-21-5810

GASKET (K2)

SN: 10001-UP

1шт.

10

01010-51025

BOLT

SN: 10001-UP

29шт.

11

01010-51030

BOLT

SN: 10001-UP

7шт.

12

01640-21016

WASHER

SN: 10001-UP

35шт.

13

01643-31032

WASHER

SN: 10001-UP

1шт.

14

6130-22-5290

CLIP

SN: 10001-UP

1шт.

15

01643-31032

WASHER

SN: 10001-UP

1шт.

Выбрано товаров: 16