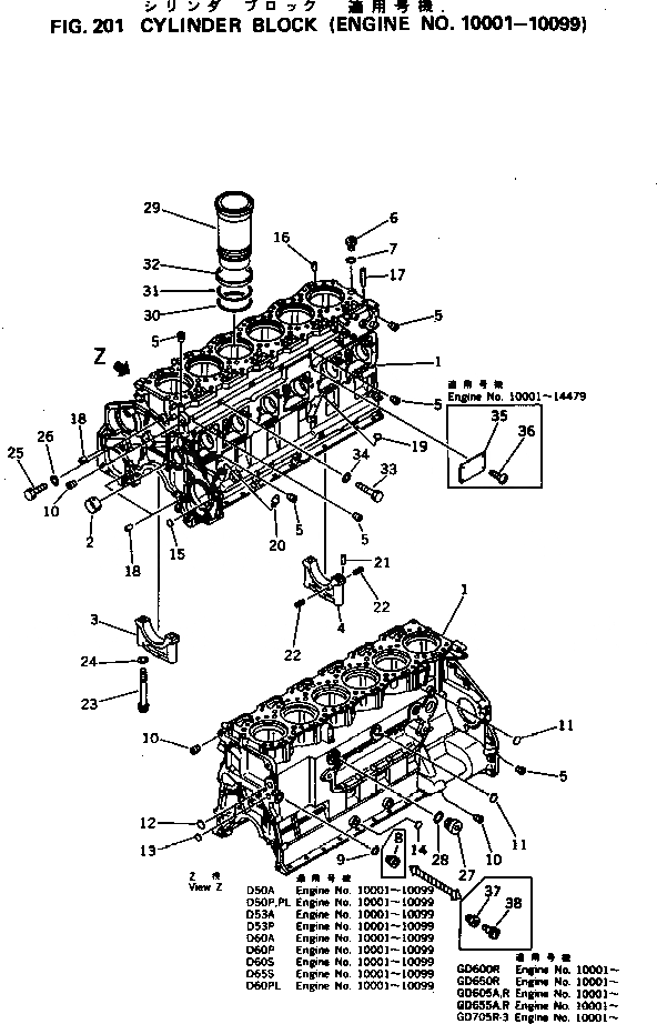
Запчасти Komatsu 6D125-1M БЛОК ЦИЛИНДРОВ(№-99) БЛОК ЦИЛИНДРОВ

Схема запчастей Komatsu 6D125-1M - БЛОК ЦИЛИНДРОВ(№-99) БЛОК ЦИЛИНДРОВ
FIT
1:1
100%

Артикул

Название

Примечание

Количество

|$0

6150-21-1100

CYLINDER BLOCK ASS'Y

SN: 10001-10099

1шт.

1

0

BLOCK,CYLINDER

SN: 10001-10099

1шт.

2

6150-21-1490

BUSHING,CAMSHAFT

SN: 10001-@

7шт.

3

6150-21-1210

CAP,MAIN METAL, NO.1,2,3,4,5,6

SN: 10001-@

6шт.

4

6150-21-1250

CAP,MAIN METAL, NO.7

SN: 10001-@

1шт.

5

07043-00108

PLUG

SN: 10001-@

6шт.

6

07040-12414

PLUG

SN: 10001-@

1шт.

7

07002-22434

O-RING (K2)

SN: 10001-@

1шт.

8

07040-13016

PLUG

SN: 10001-@

1шт.

9

07002-23034

O-RING (K2)

SN: 10001-@

1шт.

10

07043-00617

PLUG

SN: 10001-@

3шт.

11

07046-43016

PLUG

SN: 10001-@

2шт.

12

07046-44016

PLUG

SN: 10001-@

1шт.

13

07046-22516

PLUG

SN: 10001-@

1шт.

14

07046-42816

PLUG

SN: 10001-@

2шт.

15

07046-21210

PLUG

SN: 10001-@

4шт.

16

04020-00820

PIN,DOWEL

SN: 10001-@

12шт.

17

6150-21-1170

TUBE

SN: 10001-@

1шт.

18

6150-41-2430

PIN

SN: 10001-@

3шт.

19

07046-22010

PLUG

SN: 10001-10099

1шт.

20

6150-21-5910

BUSHING

SN: 10001-10099

1шт.

21

04020-00514

PIN,DOWEL

SN: 10001-@

2шт.

22

04025-00408

PIN,SPRING

SN: 10001-@

6шт.

23

6150-21-1710

BOLT

SN: 10001-@

14шт.

24

01643-31645

WASHER

SN: 10001-@

14шт.

25

6110-53-5910

PLUG

SN: 10001-10099

1шт.

26

07005-01412

GASKET (K2)

SN: 10001-10099

1шт.

27

6150-21-1180

PLUG

SN: 10001-10099

2шт.

28

6150-21-1190

O-RING (K2)

SN: 10001-10099

2шт.

29

6150-21-2222

LINER,CYLINDER

SN: 10001-@

6шт.

29

0

LINER,CYLINDER

SN: 10001-16682

6шт.

30

6150-21-2230

O-RING,LOWER (K2)

SN: 10001-@

6шт.

31

6150-21-2240

O-RING,UPPER (K2)

SN: 10001-@

6шт.

32

6150-21-2250

SEAL,CREVICE (K2)

SN: 10001-@

6шт.

33

01050-51012

BOLT

SN: 10001-10099

2шт.

34

07005-01012

GASKET (K2)

SN: 10001-10099

2шт.

35

09605-01006

PLATE, NAME,(LIMITED SUPPLY)

SN: 10001-14479

1шт.

35

6150-81-2220

PLATE, NAME,(FRENCH)

SN: 10001-14479

1шт.

35

0

PLATE, NAME,(CHINESE)

SN: 10001-14479

1шт.

36

04418-02550

SCREW

SN: 10001-14479

4шт.

Выбрано товаров: 40