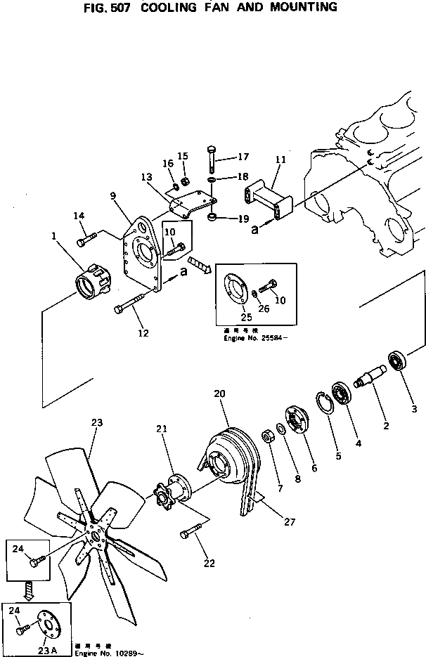
Запчасти Komatsu 6D125-1M ВЕНТИЛЯТОР ОХЛАЖДЕНИЯ И КРЕПЛЕНИЕ ОХЛАЖД-Е И ЭЛЕКТРИКАS

Схема запчастей Komatsu 6D125-1M - ВЕНТИЛЯТОР ОХЛАЖДЕНИЯ И КРЕПЛЕНИЕ ОХЛАЖД-Е И ЭЛЕКТРИКАS
FIT
1:1
100%

Артикул

Название

Примечание

Количество

|$0

6151-61-3201

CASE ASS'Y

SN: 25584-UP

1шт.

|$1

0

CASE ASS'Y

SN: 10001-25583

1шт.

1

6151-61-3152

CASE

SN: 15705-UP

1шт.

1

0

CASE

SN: 10001-15704

1шт.

2

6151-61-3170

SHAFT

SN: 10001-UP

1шт.

3

06037-06206

BEARING,BALL

SN: 15705-UP

1шт.

3

06007-06206

BEARING,BALL

SN: 10001-15704

1шт.

4

06037-06307

BEARING,BALL

SN: 15705-UP

1шт.

4

06007-06307

BEARING,BALL

SN: 10001-15704

1шт.

5

04065-08025

RING,SNAP

SN: 10001-UP

1шт.

6

6151-61-3120

HUB

SN: 10001-UP

1шт.

7

01583-02414

NUT

SN: 10001-UP

1шт.

8

01643-32460

WASHER

SN: 10001-UP

1шт.

9

6151-61-3430

PLATE

SN: 10001-UP

1шт.

10

01010-51030

BOLT

SN: 10001-UP

4шт.

11

6150-61-3540

SPACER

SN: 10001-UP

1шт.

12

01011-51015

BOLT

SN: 10001-UP

4шт.

13

6151-61-3550

BRACKET

SN: 10001-UP

1шт.

14

01010-51040

BOLT

SN: 10001-UP

2шт.

15

01580-11008

NUT

SN: 10001-UP

2шт.

16

01643-31032

WASHER

SN: 10001-UP

2шт.

17

01010-51095

BOLT

SN: 10001-UP

2шт.

18

01643-31032

WASHER

SN: 30748-UP

2шт.

18

0

WASHER

SN: 10001-30747

2шт.

19

6131-12-5920

SPACER

SN: 15705-UP

2шт.

19

0

SPACER

SN: 10001-15704

2шт.

20

6151-61-3380

PULLEY,NON HARDENING

SN: 10001-UP

1шт.

21

6151-61-3740

SPACER

SN: 10001-UP

1шт.

22

01010-51030

BOLT

SN: 10001-UP

6шт.

23

600-633-0710

FAN

SN: 10001-UP

1шт.

23A

6131-62-3310

PLATE

SN: 10289-UP

1шт.

24

01010-51030

BOLT

SN: 10001-UP

6шт.

25

6151-61-3970

COVER

SN: 25584-UP

1шт.

26

01641-21016

WASHER

SN: 25584-UP

4шт.

27

04121-22267

V-BELT SET

SN: 10001-UP

1шт.

Выбрано товаров: 0