Запчасти Komatsu 6D125-1XX-B МЕХ-М ОТБОРА МОЩНОСТИ (/) БЛОК ЦИЛИНДРОВ

Схема запчастей Komatsu 6D125-1XX-B - МЕХ-М ОТБОРА МОЩНОСТИ (/) БЛОК ЦИЛИНДРОВ
FIT
1:1
100%

Артикул

Название

Примечание

Количество

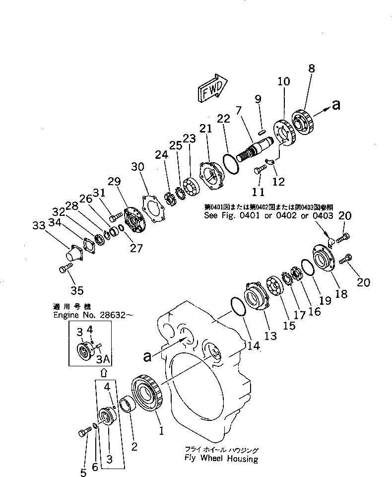
1

6631-21-4321

GEAR,IDLE

SN: 26276-UP

1шт.

2

6631-21-4371

BUSHING

SN: 26276-UP

1шт.

3

6150-21-4511

SHAFT

SN: 28632-UP

1шт.

|3

0

SHAFT

SN: 26276-28631

1шт.

3A

04020-00514

PIN,DOWEL

SN: 28632-UP

1шт.

4

07000-02010

O-RING (K3)

SN: 26276-UP

1шт.

5

6631-21-4360

BOLT

SN: 26276-UP

3шт.

6

6610-31-3331

WASHER

SN: 26276-UP

3шт.

7

6631-21-4411

SHAFT

SN: 26276-UP

1шт.

8

6631-21-4440

GEAR

SN: 26276-UP

1шт.

9

04000-01865

KEY

SN: 26276-UP

1шт.

10

6150-21-4540

GEAR

SN: 26276-UP

1шт.

11

01050-31045

BOLT

SN: 26276-UP

6шт.

12

6631-21-4460

PLATE,LOCK (K3)

SN: 26276-UP

3шт.

13

6150-21-4860

CASE,BEARING

SN: 26276-UP

1шт.

14

6631-21-4870

O-RING (K3)

SN: 26276-UP

1шт.

15

06001-00213

BEARING,ROLLER

SN: 26276-UP

1шт.

16

01530-06214

NUT

SN: 26276-UP

1шт.

17

01658-26223

WASHER,LOCK (K3)

SN: 26276-UP

1шт.

18

6631-21-4431

COVER

SN: 26276-UP

1шт.

19

07000-65110

O-RING (K3)

SN: 26276-UP

1шт.

20

01010-51235

BOLT

SN: 26276-UP

6шт.

21

6150-21-4870

CASE,BEARING

SN: 26276-UP

1шт.

22

6667-21-4670

O-RING (K3)

SN: 26276-UP

1шт.

23

06000-06213

BEARING,BALL

SN: 26276-UP

1шт.

24

01530-06214

NUT

SN: 26276-UP

1шт.

25

01658-26223

WASHER,LOCK (K3)

SN: 26276-UP

1шт.

26

6631-21-4791

COLLAR

SN: 26276-UP

1шт.

27

07000-63040

O-RING (K3)

SN: 26276-UP

1шт.

28

04064-04518

RING,SNAP

SN: 26276-UP

1шт.

29

6631-21-4774

COVER

SN: 26276-UP

1шт.

30

6150-21-4880

GASKET (K3)

SN: 26276-UP

1шт.

31

01010-51240

BOLT

SN: 26276-UP

6шт.

32

07012-00060

SEAL,OIL (K3)

SN: 26276-UP

1шт.

33

6631-21-4781

COVER

SN: 26276-UP

1шт.

34

6631-21-4880

GASKET (K3)

SN: 26276-UP

1шт.

35

01010-50610

BOLT

SN: 26276-UP

4шт.

Выбрано товаров: 0