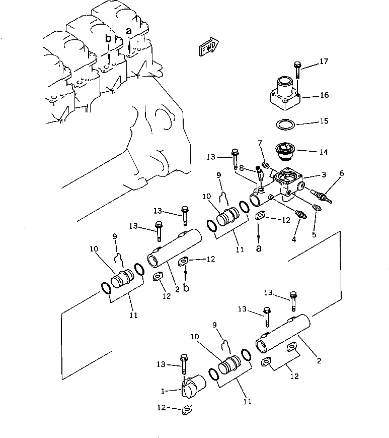
Запчасти Komatsu 6D125-1XX-B ВОДЯНОЙ КОЛЛЕКТОР И ТЕРМОСТАТ ГОЛОВКА ЦИЛИНДРОВ

Схема запчастей Komatsu 6D125-1XX-B - ВОДЯНОЙ КОЛЛЕКТОР И ТЕРМОСТАТ ГОЛОВКА ЦИЛИНДРОВ
FIT
1:1
100%

Артикул

Название

Примечание

Количество

1

6150-11-6120

MANIFOLD,WATER

SN: 26276-UP

1шт.

2

6150-11-6111

MANIFOLD,WATER

SN: 26276-UP

2шт.

3

6150-11-6420

HOUSING

SN: 26276-UP

1шт.

4

07214-50510

CONNECTOR

SN: 26276-UP

1шт.

5

07042-00415

PLUG

SN: 26276-UP

1шт.

6

08620-00000

SENSOR,THERMO

SN: 26276-UP

1шт.

7

07042-00312

PLUG

SN: 26276-UP

2шт.

8

6151-11-6920

NIPPLE

SN: 39705-UP

1шт.

|8

0

NIPPLE

SN: 26276-39704

1шт.

9

6150-11-6280

SPRING

SN: 26276-UP

3шт.

10

6150-11-6210

TUBE

SN: 26276-UP

3шт.

11

02893-05043

O-RING (K1)

SN: 26276-UP

6шт.

12

6150-11-6310

GASKET (K1)

SN: 26276-UP

6шт.

13

6150-81-9190

BOLT

SN: 26276-UP

12шт.

14

600-421-6310

THERMOSTAT

SN: 26276-UP

1шт.

15

6138-11-6810

GASKET (K1)

SN: 26276-UP

1шт.

16

6150-11-6540

COVER

SN: 26276-UP

1шт.

17

6150-81-9180

BOLT

SN: 26276-UP

4шт.

Выбрано товаров: 18