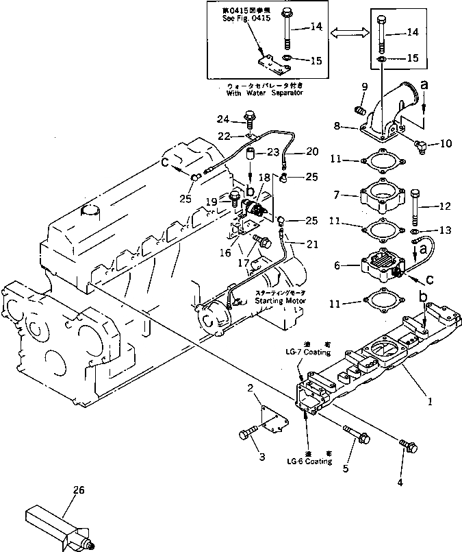
Запчасти Komatsu 6D95L-1AA-M ТРУБОПРОВОД ВПУСКА ВОЗДУХА И СОЕДИН-Е(№-) ГОЛОВКА ЦИЛИНДРОВ

Схема запчастей Komatsu 6D95L-1AA-M - ТРУБОПРОВОД ВПУСКА ВОЗДУХА И СОЕДИН-Е(№-) ГОЛОВКА ЦИЛИНДРОВ
FIT
1:1
100%

Артикул

Название

Примечание

Количество

|1

6206-11-4170

INTAKE MANIFOLD A.

SN: 40632-UP

1шт.

1

6206-11-4140

MANIFOLD,AIR INTAKE

SN: 40632-UP

1шт.

2

6206-11-4150

PLATE

SN: 40632-UP

2шт.

3

6206-11-4160

BOLT

SN: 40632-UP

12шт.

4

01435-21030

BOLT

SN: 40632-UP

10шт.

5

01435-21085

BOLT

SN: 40632-UP

2шт.

6

600-815-2341

HEATER,RIBBON

SN: 29222-UP

1шт.

7

6207-81-5210

SPACER

SN: 29222-UP

1шт.

8

6206-11-4250

CONNECTOR,AIR

SN: 29222-UP

1шт.

9

07042-00415

PLUG

SN: 29222-UP

1шт.

10

08671-50721

ELBOW

SN: 29222-UP

1шт.

11

6136-11-4820

GASKET (K1)

SN: 29222-UP

3шт.

12

01011-31010

BOLT

SN: 35235-UP

2шт.

13

01641-21016

WASHER

SN: 35235-UP

2шт.

14

01011-31010

BOLT

SN: 35235-UP

2шт.

|14

01436-21015

BOLT,(WITH WATER SEPARATOR)

SN: 29222-UP

2шт.

15

01641-21016

WASHER

SN: 35235-UP

2шт.

|15

01641-21016

WASHER,(WITH WATER SEPARATOR)

SN: 29222-UP

2шт.

16

6206-81-5510

BRACKET

SN: 29222-UP

1шт.

17

01435-21020

BOLT

SN: 29222-UP

2шт.

18

600-815-2170

SWITCH,HEATER

SN: 29222-UP

1шт.

19

01435-20612

BOLT

SN: 29222-UP

2шт.

20

6206-81-4720

WIRE¤ 480MM

SN: 29222-UP

1шт.

21

6206-81-4730

WIRE¤ 380MM

SN: 29222-UP

1шт.

22

08036-10814

CLIP

SN: 29222-UP

1шт.

23

6131-12-5920

SPACER

SN: 29222-UP

1шт.

24

01435-21025

BOLT

SN: 29222-UP

1шт.

25

08038-00519

CAP

SN: 29222-UP

3шт.

26

09920-00150

LIQUID GASKET,LG-7¤ 150G

SN: 29222-UP

-2шт.

Выбрано товаров: 29