Запчасти Komatsu 6D95L-1AC-S МАСЛЯНЫЙ ПОДДОН И ВСАСЫВАЮЩИЙ ПАТРУБОК (СПЕЦ-Я ДЛЯ БОЛЬШИХ ВЫСОТ.) ДВИГАТЕЛЬ

Схема запчастей Komatsu 6D95L-1AC-S - МАСЛЯНЫЙ ПОДДОН И ВСАСЫВАЮЩИЙ ПАТРУБОК (СПЕЦ-Я ДЛЯ БОЛЬШИХ ВЫСОТ.) ДВИГАТЕЛЬ
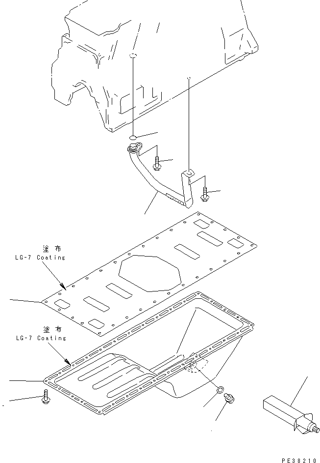
1
2
3
4
5
6
7
8
9
10
FIT
1:1
100%

Артикул

Название

Примечание

Количество

1

6206-21-5111

PAN,OIL

SN: 96999-UP

1шт.

2

6206-21-5150

PLATE

SN: 96999-UP

1шт.

3

01435-00816

BOLT

SN: 96999-UP

30шт.

4

6204-21-5180

PLUG,DRAIN

SN: 96999-UP

1шт.

5

07005-02216

GASKET (K2)

SN: 96999-UP

1шт.

6

6206-51-6210

TUBE,SUCTION

SN: 96999-UP

1шт.

7

6204-51-6120

O-RING (K2)

SN: 96999-UP

1шт.

8

01435-20816

BOLT

SN: 96999-UP

1шт.

9

01435-20812

BOLT

SN: 96999-UP

1шт.

10

09920-00150

LIQUID GASKET,LG-7, 150G

SN: 96999-UP

-2шт.

Выбрано товаров: 10