Запчасти Komatsu 6D95L-1B МАСЛЯНЫЙ ПОДДОН(№-7) БЛОК ЦИЛИНДРОВ

Схема запчастей Komatsu 6D95L-1B - МАСЛЯНЫЙ ПОДДОН(№-7) БЛОК ЦИЛИНДРОВ
FIT
1:1
100%

Артикул

Название

Примечание

Количество

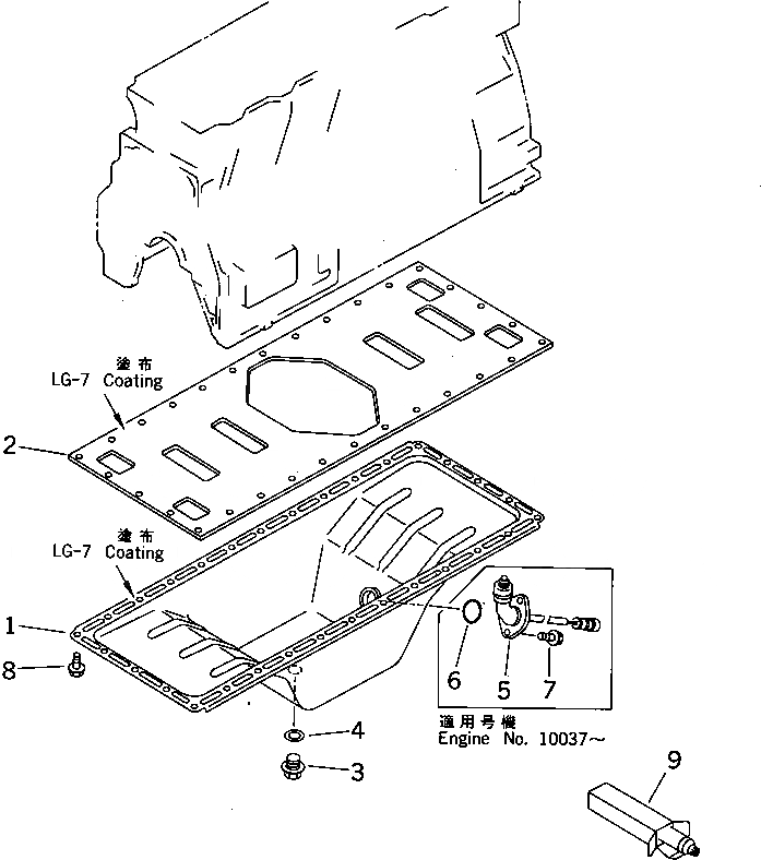
1

6206-21-5120

PAN,OIL

SN: 10001-@

1шт.

2

6206-21-5150

PLATE,UNDER

SN: 10001-17360

1шт.

3

6204-21-5190

PLUG,DRAIN

SN: 10001-21181

1шт.

4

6204-21-5290

GASKET (K2)

SN: 10001-@

1шт.

5

203-06-41160

SENSOR,OIL LEVEL

SN: 10037-@

1шт.

6

07000-63030

O-RING (K2)

SN: 10037-@

1шт.

7

01435-20816

BOLT

SN: 10037-@

2шт.

8

01435-20816

BOLT

SN: 10001-17360

30шт.

9

09920-00150

LIQUID GASKET,LG-7¤ 150G

SN: 10001-@

-2шт.

Выбрано товаров: 9