Запчасти Komatsu 6D95L-1B МАСЛЯНЫЙ ПОДДОН(№7-) БЛОК ЦИЛИНДРОВ

Схема запчастей Komatsu 6D95L-1B - МАСЛЯНЫЙ ПОДДОН(№7-) БЛОК ЦИЛИНДРОВ
FIT
1:1
100%

Артикул

Название

Примечание

Количество

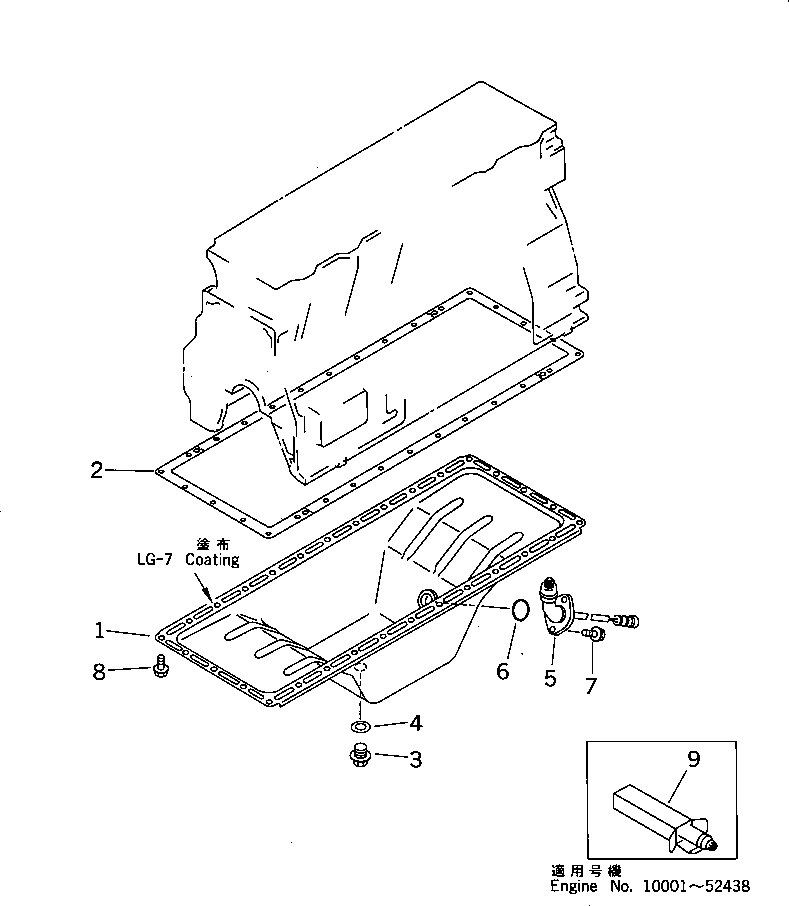
1

6206-21-5120

PAN,OIL

SN: 10001-UP

1шт.

2

6206-21-5811

GASKET (K2)

SN: 52439-UP

1шт.

3

6204-21-5180

PLUG,DRAIN

SN: 21182-UP

1шт.

|3

0

PLUG,DRAIN

SN: 10001-21181

1шт.

4

07005-02216

GASKET (K2)

SN: 43971-UP

1шт.

|4

0

GASKET (K2)

SN: 10001-43970

1шт.

5

203-06-41160

SENSOR,OIL LEVEL

SN: 10037-UP

1шт.

6

07000-63030

O-RING (K2)

SN: 10037-UP

1шт.

7

01435-20816

BOLT

SN: 10037-UP

2шт.

8

01435-00814

BOLT

SN: 43911-UP

30шт.

|8

01435-20814

BOLT

SN: 17361-43910

30шт.

9

09920-00150

LIQUID GASKET,LG-7¤ 150G

SN: 10001-52438

-2шт.

Выбрано товаров: 12