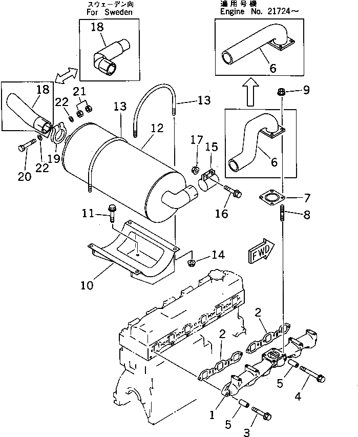
Запчасти Komatsu 6D95L-1B ВЫПУСКНОЙ КОЛЛЕКТОР И ГЛУШИТЕЛЬ(№-8) ГОЛОВКА ЦИЛИНДРОВ

Схема запчастей Komatsu 6D95L-1B - ВЫПУСКНОЙ КОЛЛЕКТОР И ГЛУШИТЕЛЬ(№-8) ГОЛОВКА ЦИЛИНДРОВ
FIT
1:1
100%

Артикул

Название

Примечание

Количество

1

6206-11-5110

MANIFOLD,EXHAUST

SN: 10001-@

1шт.

2

6206-11-5811

GASKET (K1)

SN: 14675-@

2шт.

2

0

GASKET (K1)

SN: 10001-14674

2шт.

3

01435-01090

BOLT

SN: 10001-@

11шт.

4

01435-01095

BOLT

SN: 10001-@

1шт.

5

6134-11-5120

SPACER

SN: 10001-@

12шт.

6

6206-11-5630

PIPE

SN: 21724-@

1шт.

6

6206-11-5610

PIPE

SN: 10001-21723

1шт.

7

6130-12-5580

GASKET (K1)

SN: 10001-@

1шт.

8

01140-61025

STUD

SN: 10001-@

4шт.

9

6142-12-5850

NUT

SN: 10001-@

4шт.

10

6206-11-5510

BRACKET

SN: 10001-21841

1шт.

11

01435-01025

BOLT

SN: 10001-21841

4шт.

12

6206-11-5210

MUFFLER

SN: 10001-21841

1шт.

13

6206-11-5960

U-BOLT

SN: 10001-@

2шт.

14

01584-00806

NUT

SN: 11467-@

4шт.

14

01584-20806

NUT

SN: 10001-11466

4шт.

15

6206-11-5910

CLAMP

SN: 10001-@

1шт.

16

01435-01235

BOLT

SN: 10079-@

2шт.

16

01435-01030

BOLT

SN: 10001-10078

2шт.

17

01584-01210

NUT

SN: 10079-@

2шт.

17

01584-01008

NUT

SN: 10001-10078

2шт.

18

6206-11-5710

PIPE,EXHAUST

SN: 10001-21841

1шт.

18

6206-11-5780

PIPE,EXHAUST (REGULATION OF SWEDEN)

SN: 10001-23498

1шт.

19

6206-11-5920

CLAMP

SN: 10001-@

1шт.

20

01010-31080

BOLT

SN: 10001-@

1шт.

21

01580-21008

NUT

SN: 10001-@

2шт.

22

01640-21016

WASHER

SN: 10001-@

2шт.

Выбрано товаров: 0