Запчасти Komatsu 6D95L-1L ВЫПУСКНОЙ КОЛЛЕКТОР И ГЛУШИТЕЛЬ(№8-) ГОЛОВКА ЦИЛИНДРОВ

Схема запчастей Komatsu 6D95L-1L - ВЫПУСКНОЙ КОЛЛЕКТОР И ГЛУШИТЕЛЬ(№8-) ГОЛОВКА ЦИЛИНДРОВ
FIT
1:1
100%

Артикул

Название

Примечание

Количество

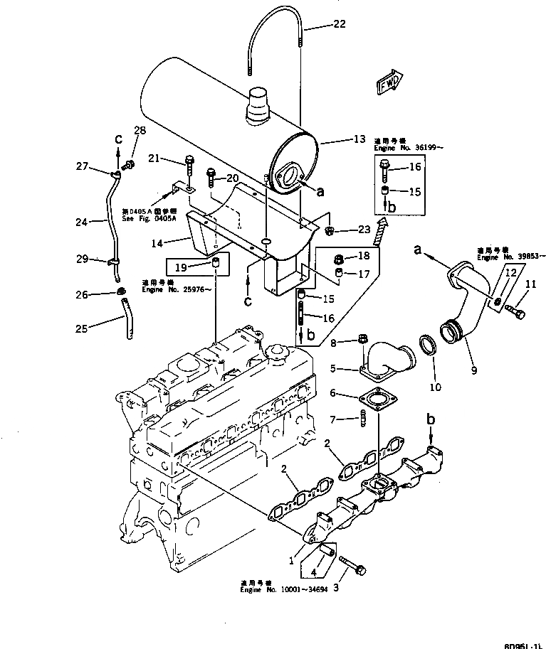
1

6206-11-5110

MANIFOLD,EXHAUST

SN: 10001-UP

1шт.

2

6207-11-5810

GASKET (K1)

SN: 65458-UP

2шт.

2

0

GASKET (K1)

SN: 14827-65457

2шт.

2

0

GASKET (K1)

SN: 10001-14826

2шт.

3

01435-01045

BOLT

SN: 34695-UP

12шт.

3

01435-01090

BOLT

SN: 10001-34694

12шт.

4

6134-11-5120

SPACER

SN: 10001-34694

12шт.

5

6206-11-5640

PIPE

SN: 10001-UP

1шт.

6

6130-12-5580

GASKET (K1)

SN: 10001-UP

1шт.

7

01140-61025

STUD

SN: 10001-UP

4шт.

8

6142-12-5850

NUT

SN: 10001-UP

4шт.

9

6207-11-5610

PIPE

SN: 10001-UP

1шт.

10

6207-11-5380

RING,SEAL

SN: 10001-UP

1шт.

11

01020-00820

BOLT

SN: 10001-UP

2шт.

12

01641-20812

WASHER

SN: 39853-UP

2шт.

13

6206-11-5240

MUFFLER

SN: 10001-UP

1шт.

13

6206-11-5270

MUFFLER,(TUNNEL SPEC.)

SN: 10001-UP

1шт.

14

6207-11-5512

BRACKET

SN: 25976-UP

1шт.

14

0

BRACKET

SN: 13855-25975

1шт.

|$$20

(6207-11-5512,6144-81-6680)

-1шт.

15

6206-11-5941

SPACER

SN: 13855-UP

2шт.

16

01435-01030

BOLT

SN: 36199-UP

2шт.

16

01140-61045

STUD

SN: 13855-36198

2шт.

17

6631-11-6390

SPACER

SN: 13855-36198

2шт.

18

6142-12-5850

NUT

SN: 13855-36198

2шт.

19

6144-81-6680

SPACER

SN: 25976-UP

2шт.

20

01435-21045

BOLT

SN: 13855-UP

1шт.

21

01435-21050

BOLT

SN: 22592-UP

1шт.

21

01435-21045

BOLT

SN: 13855-22591

1шт.

22

6206-11-5970

U-BOLT

SN: 10001-UP

2шт.

23

01584-01008

NUT

SN: 13855-UP

4шт.

24

6207-11-5440

TUBE

SN: 10001-UP

1шт.

25

07260-20950

HOSE

SN: 15843-UP

1шт.

25

0

HOSE

SN: 10001-15842

1шт.

26

07281-00167

CLAMP

SN: 10001-UP

1шт.

27

281-03-12620

CLAMP

SN: 10001-UP

1шт.

28

01435-20812

BOLT

SN: 10001-UP

1шт.

29

6112-53-7760

CLAMP

SN: 10001-UP

1шт.

1

6206-11-5110

MANIFOLD,EXHAUST

SN: 10001-UP

1шт.

2

6207-11-5810

GASKET (K1)

SN: 65458-UP

2шт.

2

0

GASKET (K1)

SN: 14827-65457

2шт.

2

0

GASKET (K1)

SN: 10001-14826

2шт.

3

01435-01045

BOLT

SN: 34695-UP

12шт.

3

01435-01090

BOLT

SN: 10001-34694

12шт.

4

6134-11-5120

SPACER

SN: 10001-34694

12шт.

5

6206-11-5640

PIPE

SN: 10001-UP

1шт.

6

6130-12-5580

GASKET (K1)

SN: 10001-UP

1шт.

7

01140-61025

STUD

SN: 10001-UP

4шт.

8

6142-12-5850

NUT

SN: 10001-UP

4шт.

9

6207-11-5610

PIPE

SN: 10001-UP

1шт.

10

6207-11-5380

RING,SEAL

SN: 10001-UP

1шт.

11

01020-00820

BOLT

SN: 10001-UP

2шт.

12

01641-20812

WASHER

SN: 39853-UP

2шт.

13

6206-11-5240

MUFFLER

SN: 10001-UP

1шт.

13

6206-11-5270

MUFFLER,(TUNNEL SPEC.)

SN: 10001-UP

1шт.

14

6207-11-5512

BRACKET

SN: 25976-UP

1шт.

14

0

BRACKET

SN: 13855-25975

1шт.

|$$20

(6207-11-5512,6144-81-6680)

-1шт.

15

6206-11-5941

SPACER

SN: 13855-UP

2шт.

16

01435-01030

BOLT

SN: 36199-UP

2шт.

16

01140-61045

STUD

SN: 13855-36198

2шт.

17

6631-11-6390

SPACER

SN: 13855-36198

2шт.

18

6142-12-5850

NUT

SN: 13855-36198

2шт.

19

6144-81-6680

SPACER

SN: 25976-UP

2шт.

20

01435-21045

BOLT

SN: 13855-UP

1шт.

21

01435-21050

BOLT

SN: 22592-UP

1шт.

21

01435-21045

BOLT

SN: 13855-22591

1шт.

22

6206-11-5970

U-BOLT

SN: 10001-UP

2шт.

23

01584-01008

NUT

SN: 13855-UP

4шт.

24

6207-11-5440

TUBE

SN: 10001-UP

1шт.

25

07260-20950

HOSE

SN: 15843-UP

1шт.

25

0

HOSE

SN: 10001-15842

1шт.

26

07281-00167

CLAMP

SN: 10001-UP

1шт.

27

281-03-12620

CLAMP

SN: 10001-UP

1шт.

28

01435-20812

BOLT

SN: 10001-UP

1шт.

29

6112-53-7760

CLAMP

SN: 10001-UP

1шт.

Выбрано товаров: 76