Запчасти Komatsu 6D95L-1RR ПЕРЕДН. КРЫШКАAND ПРИВОД БЛОК ЦИЛИНДРОВ

Схема запчастей Komatsu 6D95L-1RR - ПЕРЕДН. КРЫШКАAND ПРИВОД БЛОК ЦИЛИНДРОВ
FIT
1:1
100%

Артикул

Название

Примечание

Количество

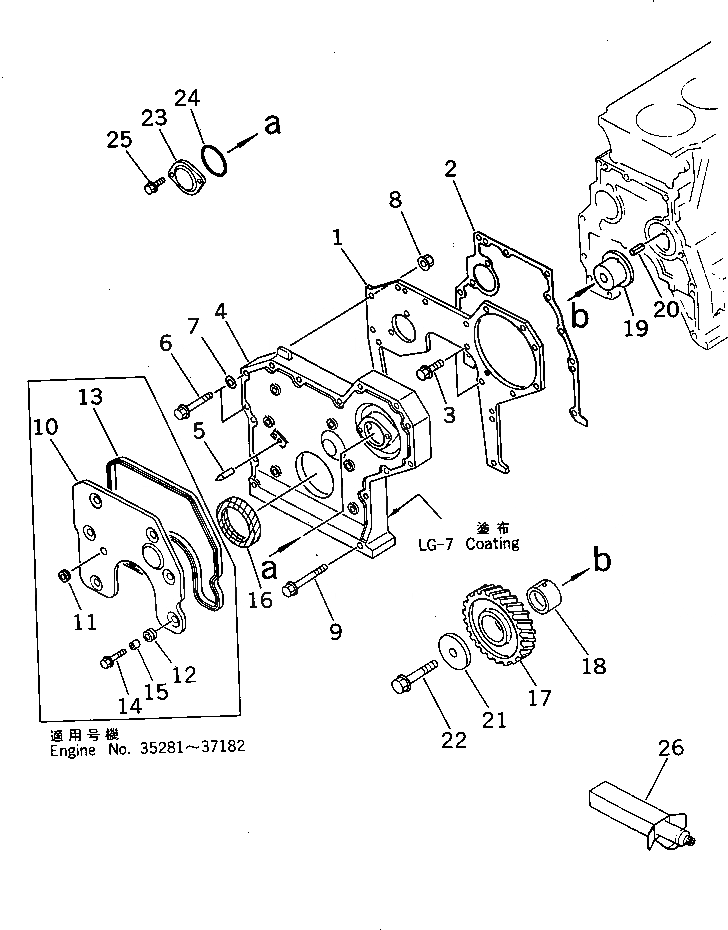
1

6204-21-3211

PLATE,FRONT

SN: 52442-UP

1шт.

|1

0

PLATE,FRONT

SN: 10009-52441

1шт.

|1

6204-21-3210

PLATE,FRONT

SN: 10001-10008

1шт.

2

6206-21-3830

GASKET (K2)

SN: 36950-UP

1шт.

|2

0

GASKET (K2)

SN: 10009-36949

1шт.

|2

6204-21-3810

GASKET (K2)

SN: 10001-10008

1шт.

3

01435-20816

BOLT

SN: 10001-UP

2шт.

4

6204-21-3112

COVER,FRONT

SN: 52439-UP

1шт.

|4

0

COVER,FRONT

SN: 34375-52438

1шт.

|4

0

COVER,FRONT

SN: 10009-34374

1шт.

|4

0

COVER,FRONT

SN: 10001-10008

1шт.

5

6204-21-3850

POINTER

SN: 10001-UP

1шт.

6

01435-20855

BOLT

SN: 10001-UP

13шт.

7

01641-20812

WASHER

SN: 10001-UP

1шт.

8

01584-00806

NUT

SN: 10001-UP

2шт.

9

01435-20870

BOLT

SN: 10001-UP

2шт.

10

6204-21-3311

COVER

SN: 10001-10008

1шт.

11

6204-21-3451

GROMMET (K2)

SN: 10001-10008

1шт.

12

6204-21-3460

GROMMET (K2)

SN: 10001-10008

6шт.

13

6204-21-3410

PACKING (K2)

SN: 10001-10008

1шт.

14

01435-20620

BOLT

SN: 10001-10008

6шт.

15

6204-21-3480

SPACER

SN: 10001-10008

6шт.

16

6204-21-3510

SEAL¤ FRONT (K2)

SN: 10001-UP

1шт.

|17

6206-31-6301

IDLER GEAR ASS'Y

SN: 28553-UP

1шт.

|17

0

IDLER GEAR ASS'Y

SN: 10001-28552

1шт.

|$$26

(6206-31-6301{6204-31-6331)}

-1шт.

17

0

GEAR,IDLER

SN: 10001-UP

1шт.

18

6204-31-6341

BUSHING

SN: 28553-UP

1шт.

|18

6204-31-6340

BUSHING

SN: 10001-28552

1шт.

19

6204-31-6331

SHAFT

SN: 28553-UP

1шт.

|19

6204-31-6330

SHAFT

SN: 10001-28552

1шт.

20

04025-00512

PIN,SPRING

SN: 10001-UP

1шт.

21

6204-31-6350

WASHER

SN: 10001-UP

1шт.

22

01435-01270

BOLT

SN: 10001-UP

1шт.

23

6144-81-5151

COVER

SN: 10001-UP

1шт.

24

07000-03050

O-RING (K2)

SN: 10001-UP

1шт.

25

01435-20616

BOLT

SN: 10001-UP

2шт.

26

09920-00150

LIQUID GASKET,LG-7¤ 150G

SN: 10001-UP

-2шт.

Выбрано товаров: 38