Запчасти Komatsu GX160K1-SKM-1 ТОПЛИВН. НАСОС И ТРУБЫ ТОПЛИВН. СИСТЕМА

Схема запчастей Komatsu GX160K1-SKM-1 - ТОПЛИВН. НАСОС И ТРУБЫ ТОПЛИВН. СИСТЕМА
FIT
1:1
100%

Артикул

Название

Примечание

Количество

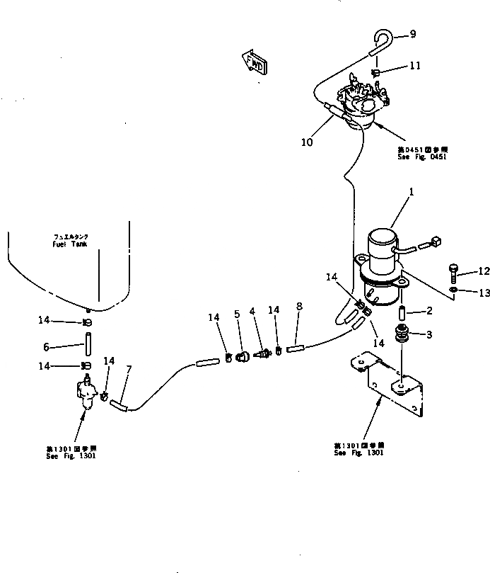
1

HD16700679083

FUEL PUMP ASS'Y

SN: 2087000-UP

1шт.

2

HD16712657300

COLLAR

SN: 2087000-UP

2шт.

3

HD16711679000

RUBBER

SN: 2087000-UP

2шт.

4

HD16910GB2005

STRAINER

SN: 2087000-UP

1шт.

5

HD16915GB2000

SUSPENSION

SN: 2087000-UP

1шт.

6

HD950014504040

TUBE

SN: 2087000-UP

1шт.

7

HD950014524040

TUBE

SN: 2087000-UP

1шт.

8

HD950014518040

TUBE

SN: 2087000-UP

1шт.

9

HD950014577040

TUBE

SN: 2087000-UP

1шт.

10

HD16854ZE1000

RUBBER

SN: 2087000-UP

1шт.

11

HD9500202080

CLIP

SN: 2087000-UP

1шт.

12

01010-50630

BOLT,(SEE FIG.1301)

SN: 2087000-UP

2шт.

13

01643-30623

WASHER,(SEE FIG.1301)

SN: 2087000-UP

2шт.

14

07285-00085

CLIP,(SEE FIG.1301)

SN: 2087000-UP

7шт.

Выбрано товаров: 14