Запчасти Komatsu GX360K1-SKM-1 ЭЛЕКТР. ЭЛЕКТРОПРОВОДКА ЭЛЕКТРИКА

Схема запчастей Komatsu GX360K1-SKM-1 - ЭЛЕКТР. ЭЛЕКТРОПРОВОДКА ЭЛЕКТРИКА
FIT
1:1
100%

Артикул

Название

Примечание

Количество

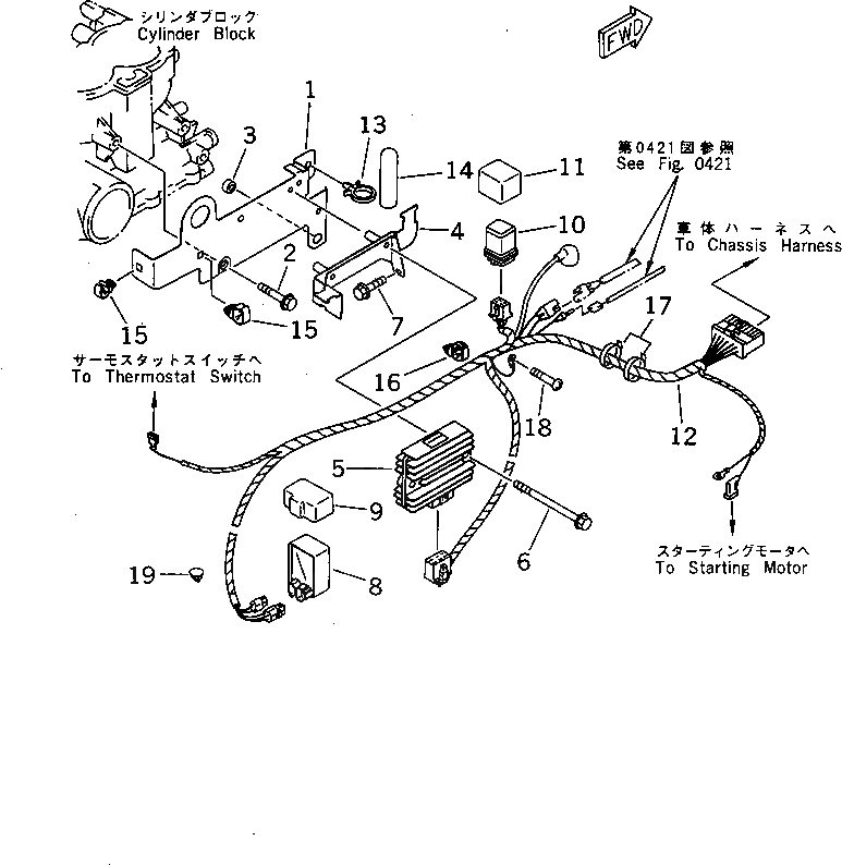
1

HD11803ZA0920

BRACKET

SN: 1269500-UP

1шт.

2

HD957010802000

BOLT

SN: 1269500-UP

2шт.

3

HD90028839000

WASHER

SN: 1269500-UP

1шт.

4

HD38476ZA0920

BRACKET

SN: 1269500-UP

1шт.

5

HD31600ZA0921

REGULATOR ASS'Y

SN: 1269500-UP

1шт.

6

HD957010604500

BOLT

SN: 1269500-UP

2шт.

7

HD957010601200

BOLT

SN: 1269500-UP

1шт.

8

HD38470ZA0960

ALERT ASS'Y

SN: (16251)-UP

1шт.

|8

0

ALERT ASS'Y

SN: (10001)-(16250)

1шт.

|$$10

(HD38470ZA0960{HD32120ZA0960)}

-1шт.

9

HD30401VW0000

CUSHION

SN: 1269500-UP

1шт.

|10

HD38350762003

CONTROL ASS'Y,RELAY

SN: 1269500-UP

1шт.

10

HD38365MN5811

RELAY ASS'Y,CONTROL

SN: 1269500-UP

1шт.

11

HD38506751701

SUSPENSION

SN: 1269500-UP

1шт.

12

HD32120ZA0960

HARNESS ASS'Y

SN: (16251)-UP

1шт.

|12

0

HARNESS ASS'Y

SN: (10001)-(16250)

1шт.

|$$17

(HD32120ZA0960{HD38470ZA0960)}

-1шт.

13

HD90617750003

CLIP

SN: 1269500-UP

1шт.

14

HD91408890000

TUBE

SN: 1269500-UP

1шт.

15

HD90602PA6661

CLIP

SN: 1269500-UP

2шт.

16

HD90651750801

CLIP

SN: 1269500-UP

1шт.

17

HD32161367690

BAND

SN: 1269500-UP

2шт.

18

HD93500050120H

SCREW

SN: 1269500-UP

1шт.

19

HD32124SB0000

CLIP

SN: 1269500-UP

1шт.

Выбрано товаров: 24