Запчасти Komatsu GX360K1-SKM-2 РЕГУЛЯТОР РУКОЯТЬ УПРАВЛ-Е И CARBURETOR УПРАВЛ-Е ТОПЛИВН. СИСТЕМА

Схема запчастей Komatsu GX360K1-SKM-2 - РЕГУЛЯТОР РУКОЯТЬ УПРАВЛ-Е И CARBURETOR УПРАВЛ-Е ТОПЛИВН. СИСТЕМА
FIT
1:1
100%

Артикул

Название

Примечание

Количество

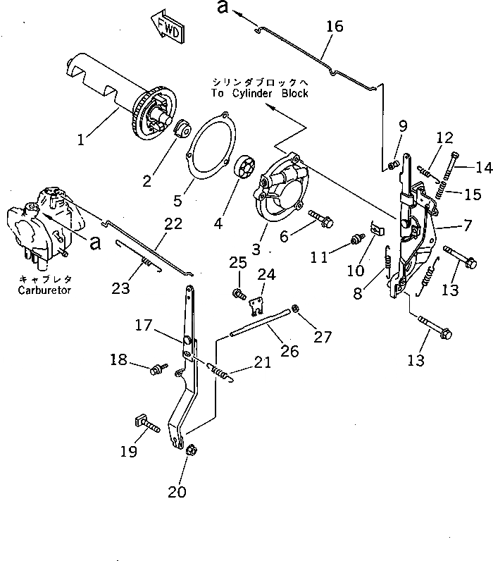
1

HD13350ZA0980

WEIGHT ASS'Y,BALANCER

SN: 1269500-UP

1шт.

2

HD16531ZA0981

SLIDER,GOVERNOR

SN: 1269500-UP

1шт.

3

HD16530ZA0980

COVER ASS'Y,GOVERNOR

SN: 1269500-UP

1шт.

4

HD961006202000

BEARING

SN: 1269500-UP

1шт.

5

HD16528ZA0800

PACKING

SN: 1269500-UP

1шт.

6

HD957010602508

BOLT

SN: 1269500-UP

1шт.

7

HD16570ZA0960

CONTROL ASS'Y

SN: 1269500-UP

1шт.

8

HD16575ZA0700

SPRING,RETURN

SN: 1269500-UP

1шт.

9

HD16576ZA0700

COLLAR

SN: 1269500-UP

1шт.

10

HD16576891000

HOLDER,CABLE

SN: 1269500-UP

1шт.

11

HD938930502000

SCREW

SN: 1269500-UP

1шт.

12

HD16592883310

SPRING,RETURN

SN: 1269500-UP

2шт.

13

HD957010604508

BOLT

SN: 1269500-UP

2шт.

14

HD90016ZG1700

BOLT,ADJUSTING

SN: 1269500-UP

1шт.

15

HD16584883300

SPRING,ADJUSTING

SN: 1269500-UP

1шт.

16

HD16264ZA0920

ROD,CHOKE

SN: 1269500-UP

1шт.

17

HD16550ZA0920

ARM ASS'Y,GOVERNOR

SN: 1269500-UP

1шт.

18

HD934930601200

BOLT

SN: 1269500-UP

1шт.

19

HD90015ZE5010

BOLT

SN: 1269500-UP

1шт.

20

HD9405006000

NUT

SN: 1269500-UP

1шт.

21

HD16561ZA0961

SPRING

SN: 1269500-UP

1шт.

22

HD16555ZA0920

ROD

SN: 1269500-UP

1шт.

23

HD16562ZA0920

SPRING,THROTTLE RETURN

SN: 1269500-UP

1шт.

24

HD16542ZA0980

FORK,GOVERNOR

SN: 1269500-UP

1шт.

25

HD93500030080H

SCREW

SN: 1269500-UP

2шт.

26

HD16541ZA0700

SHAFT

SN: 1269500-UP

1шт.

27

HD91203952771

SEAL,OIL

SN: 1269500-UP

1шт.

Выбрано товаров: 27