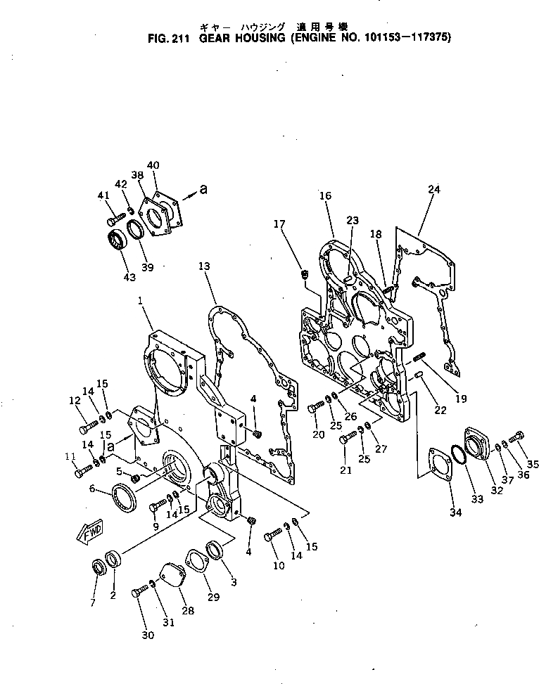
Запчасти Komatsu KT-1150-1A КОЖУХ ШЕСТЕРЕН. ПЕРЕДАЧИ(№-77) БЛОК ЦИЛИНДРОВ

Схема запчастей Komatsu KT-1150-1A - КОЖУХ ШЕСТЕРЕН. ПЕРЕДАЧИ(№-77) БЛОК ЦИЛИНДРОВ
FIT
1:1
100%

Артикул

Название

Примечание

Количество

|1

CU3012614

GEAR

SN: 107470-117375

1шт.

|1

CUAR-12041

GEAR

SN: 101153-107469

1шт.

1

0

SN: 107470-117375

1шт.

|1

0

SN: 101153-107469

1шт.

2

CU132770

BUSHING

SN: 101153-117375

1шт.

3

CU205133

BUSHING

SN: 101153-117375

1шт.

4

CUS-911-B

PLUG

SN: 107470-117375

4шт.

|4

CUS-911-B

PLUG

SN: 101153-107469

5шт.

5

CU3008467

PLUG

SN: 107470-117375

2шт.

|5

CU3008466

PLUG

SN: 101153-107469

1шт.

6

CU3016792

SEAL

SN: 107470-117375

1шт.

|6

0

SEAL

SN: 107470-117375

1шт.

|6

CU3005884

SEAL

SN: 101153-107469

1шт.

7

CU3016788

OIL SEAL

SN: 101153-117375

1шт.

|7

0

SEAL

SN: 101153-117375

1шт.

9

CU108707

CAP SCREW

SN: 101153-117375

3шт.

|9

0

CAP SCREW

SN: 101153-117375

3шт.

10

CUS-137

CAP SCREW

SN: 101153-117375

3шт.

|10

0

BOLT

SN: 101153-117375

3шт.

11

02010-30632

BOLT

SN: 113641-117375

8шт.

|11

0

CAP SCREW

SN: 101153-117375

8шт.

12

CUS-126

CAP SCREW

SN: 107470-117375

1шт.

|12

CUS-126

CAP SCREW

SN: 101153-107469

5шт.

|12

0

CAP SCREW

SN: 107470-117375

5шт.

|12

0

CAP SCREW

SN: 101153-107469

5шт.

|12

CU205323

CAP SCREW

SN: 107470-117375

2шт.

|12

CUS-104

CAP SCREW

SN: 107470-117375

2шт.

|12

0

CAP SCREW

SN: 107470-117375

2шт.

13

CU3001318

GASKET

SN: 107470-117375

1шт.

|13

0

GASKET

SN: 101153-107469

1шт.

14

02310-01224

LOCK WASHER

SN: 107470-117375

19шт.

|14

02310-01224

LOCK WASHER

SN: 101153-107469

16шт.

15

CU127362

WASHER

SN: 107470-117375

19шт.

|15

CU127362

WASHER

SN: 101153-107469

16шт.

|16

CUAR-45151

HOUSING

SN: 101153-117375

1шт.

16

0

SN: 101153-117375

1шт.

17

02720-20104

PLUG

SN: 101153-117375

1шт.

18

CU206217

STUD

SN: 101153-117375

1шт.

19

CU206218

STUD

SN: 101153-117375

1шт.

20

CUS-172-B

CAP SCREW

SN: 101153-117375

9шт.

21

CUS-103-D

CAP SCREW

SN: 101153-117375

2шт.

|21

0

CAP SCREW

SN: 101153-117375

2шт.

22

CU60408-L

DOWEL

SN: 101153-117375

1шт.

23

CU205366

DOWEL

SN: 101153-117375

1шт.

24

CU3005972

GASKET

SN: 101153-117375

1шт.

25

02310-01224

LOCK WASHER

SN: 101153-117375

11шт.

26

02300-01320

WASHER

SN: 101153-117375

9шт.

27

CU127362

WASHER

SN: 101153-117375

2шт.

28

CU205159

FLANGE

SN: 101153-117375

1шт.

29

CU3008400

GASKET

SN: 101153-117375

1шт.

30

CUS-113

CAP SCREW

SN: 101153-117375

2шт.

|30

0

CAP SCREW

SN: 101153-117375

2шт.

31

CU111445

WASHER

SN: 101153-117375

2шт.

32

CU205775

COVER

SN: 101153-117375

1шт.

33

CU145600

O-RING

SN: 101153-117375

1шт.

34

CU205782

GASKET

SN: 101153-117375

1шт.

35

CUS-126

CAP SCREW

SN: 101153-117375

4шт.

|35

0

CAP SCREW

SN: 101153-117375

4шт.

36

02310-01224

LOCK WASHER

SN: 101153-117375

4шт.

|38

CU3002327

SUPPORT ASS'Y

SN: 107470-117375

1шт.

38

0

SN: 107470-117375

1шт.

39

CU132770

BUSHING

SN: 107470-117375

1шт.

40

CU3002330

GASKET

SN: 107470-117375

1шт.

41

CU3002373

CAP SCREW

SN: 107470-117375

5шт.

42

CU127362

WASHER

SN: 107470-117375

5шт.

43

CU3016794

OIL SEAL

SN: 107470-117375

1шт.

|43

0

OIL SEAL

SN: 107470-117375

1шт.

Выбрано товаров: 0